Aprilia จดสิทธิบัตร Leg Wing บน RSV4 เพิ่มแรงกดขณะเข้าโค้งและลดแรงต้านทางตรง เทคโนโลยีแอโรไดนามิกใหม่ที่อาจเปลี่ยนอนาคตซูเปอร์ไบค์ถนน

Aprilia จดสิทธิบัตร Leg Wing บน Aprilia RSV4 สู่ยุคใหม่ของแอโรไดนามิกแบบ Rider-Assisted
นวัตกรรมด้านแอโรไดนามิกยังคงพัฒนาอย่างต่อเนื่องในโลกมอเตอร์ไซค์สมรรถนะสูง จากยุคที่ “วิงเลต” (Winglets) ดูแปลกตาบนรถแข่ง วันนี้กลับกลายเป็นอุปกรณ์มาตรฐานบนซูเปอร์ไบค์และสปอร์ตไบค์หลายรุ่น
ล่าสุด สิทธิบัตรใหม่จาก Piaggio บริษัทแม่ของ Aprilia เผยแนวคิดที่อาจเปลี่ยนวิธีตัดอากาศของรถถนนไปอีกขั้น กับระบบที่เรียกว่า Leg Wing หรือปีกที่ทำงานร่วมกับตำแหน่งขาของผู้ขี่

Leg Wing คืออะไร? ปีกที่ใช้ “ขาผู้ขี่” เป็นส่วนหนึ่งของแอโรไดนามิก
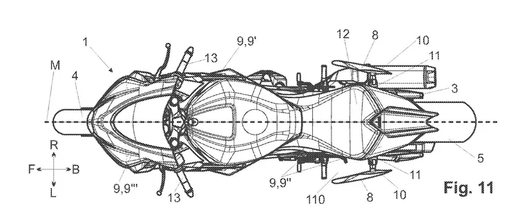
จากภาพสิทธิบัตรที่เผยแพร่ แนวคิดดังกล่าวปรากฏอยู่บนรถต้นแบบที่มีพื้นฐานใกล้เคียงกับ RSV4 รุ่นใหม่ โดยมีแผงแนวตั้งขนาดเล็กติดตั้งบริเวณด้านท้าย ใกล้ตำแหน่งพักเท้าผู้ซ้อน
ชิ้นส่วนดังกล่าว (ระบุหมายเลข 8 ในเอกสาร) ถูกออกแบบให้แนบไปกับแนวขาด้านนอกของผู้ขี่ แล้วไล่ทรงเรียวไปด้านหลัง ทำหน้าที่หลัก 2 ประการ คือ

1. ลดแรงต้านในทางตรง (Drag Reduction)
เมื่อวิ่งทางตรง แผง Leg Wing จะช่วยจัดระเบียบการไหลของอากาศจากแฟริ่งไปยังด้านท้ายรถ ทำให้โปรไฟล์ลมสะอาดขึ้น ลดแรงต้าน เพิ่มโอกาสในการทำความเร็วสูงสุด หรือช่วยประหยัดเชื้อเพลิง แนวคิดนี้คล้ายกับรถทำความเร็วสูงแบบ Streamliner ที่ออกแบบให้ตัวถังโอบล้อมผู้ขี่มากที่สุด

2. เพิ่มแรงกดขณะเข้าโค้ง (Cornering Downforce)
จุดเด่นที่น่าสนใจคือ เมื่อผู้ขยับตัวเข้าโค้ง แผงด้านในจะเปิดรับกระแสลมโดยตรง ด้วยรูปทรงคล้ายแอร์โรฟอยล์ (Aerofoil) และวางตัวเกือบขนานพื้นถนน แผงดังกล่าวสามารถสร้างแรงกด (Downforce) กดรถให้แนบพื้นมากขึ้นในจังหวะที่ต้องการการยึดเกาะสูงสุด ขณะเดียวกัน แผงอีกด้านจะถูกบังด้วยขาผู้ขี่ จึงไม่เกิดแรงอากาศต้านสวนทาง เป็นการใช้ “ตำแหน่งร่างกาย” ของนักบิดให้เกิดประโยชน์ทางวิศวกรรม

ต่อเนื่องจากเทคโนโลยีสนามแข่งสู่รถถนน
แฟนๆ MotoGP อาจคุ้นตากับชิ้นส่วนลักษณะคล้ายกันที่ปรากฏบนรถแข่งโรงงานในช่วง 2-3 ฤดูกาลที่ผ่านมา
แต่สิทธิบัตรฉบับนี้บ่งชี้ชัดว่า Aprilia กำลังพิจารณานำแนวคิดดังกล่าวมาปรับใช้กับรถโปรดักชันจริง ซึ่งแตกต่างจาก Active Aero เพราะไม่ต้องพึ่งระบบไฟฟ้าหรือกลไกซับซ้อน จึงช่วยลดน้ำหนัก ต้นทุน และความยุ่งยากในการบำรุงรักษา

ความท้าทายทางวิศวกรรมที่ต้องตามดู
แม้แนวคิด Leg Wing จะดูเรียบง่าย แต่แรงกดที่เพิ่มขึ้นในโค้งความเร็วสูงย่อมส่งผลต่อโครงสร้างตัวรถ เฟรมและสวิงอาร์มอาจต้องถูกปรับจูนให้รองรับแรงกดที่มากขึ้น รวมถึงการควบคุมการยืดหยุ่น (Flex) เพื่อรักษาสมดุลระหว่างความแข็งแรงและฟีลลิ่งการขับขี่
หาก Aprilia สามารถจัดการสมดุลนี้ได้สำเร็จ เราอาจได้เห็น RSV4 เจเนอเรชันใหม่ที่ไม่เพียงเร็วในทางตรง แต่ยังนิ่งและมั่นคงกว่าเดิมในโค้งความเร็วสูง

Aprilia Leg Wing RSV4 จะเปลี่ยนเกมซูเปอร์ไบค์หรือไม่?
ตลอดทศวรรษที่ผ่านมา แอโรไดนามิกกลายเป็นปัจจัยหลักในการพัฒนาซูเปอร์ไบค์ และสิทธิบัตร Leg Wing นี้สะท้อนให้เห็นว่าแนวคิดดังกล่าวยังไม่ถึงทางตัน คำถามสำคัญคือ ผู้ขี่บนท้องถนนทั่วไปจะสัมผัสความแตกต่างได้มากน้อยเพียงใด? หากเทคโนโลยีนี้ถูกนำมาใช้จริงใน RSV4 รุ่นถัดไป ก็อาจเป็นอีกก้าวสำคัญที่ทำให้รถถนนเข้าใกล้เทคโนโลยีสนามแข่งมากกว่าที่เคย และเปิดยุคใหม่ของ Rider-Assisted Aerodynamics อย่างแท้จริง
ติดตามข่าวสารยานยนต์ : car2day.com
Page Facebook : Car2Day
Youtube : youtube.com/@Car2day










