ฮอนด้าจดสิทธิบัตรระบบควบคุมการเลี้ยวอัตโนมัติสำหรับมอเตอร์ไซค์ ช่วยป้องกันการชน ลดการหักหลบฉุกเฉิน พร้อมใช้เรดาร์ กล้อง และเซ็นเซอร์รอบคัน

ฮอนด้าจดสิทธิบัตร “ระบบควบคุมการเลี้ยว” สำหรับมอเตอร์ไซค์ มุ่งลดอุบัติเหตุบนท้องถนน
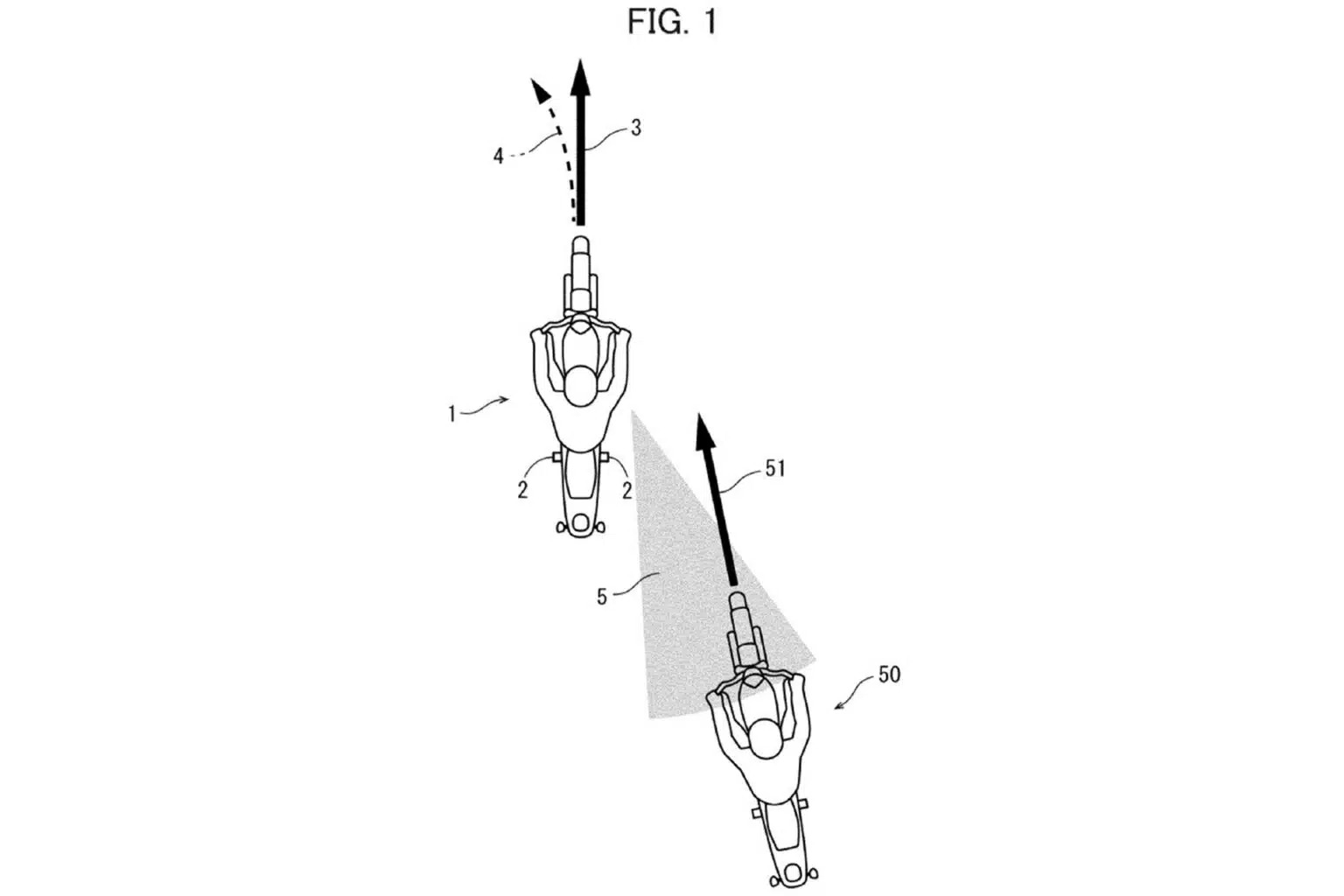
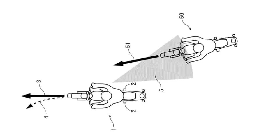
ฮอนด้าเดินหน้าพัฒนาเทคโนโลยีความปลอดภัยเชิงป้องกันอย่างต่อเนื่อง ล่าสุดบริษัทญี่ปุ่นได้จดสิทธิบัตร ระบบควบคุมการเลี้ยวสำหรับรถจักรยานยนต์ กับองค์กรทรัพย์สินทางปัญญาโลก (WIPO) ซึ่งออกแบบมาเพื่อลดความเสี่ยงจากการชน และช่วยผู้ขับขี่ในสถานการณ์ฉุกเฉิน

ระบบควบคุมการเลี้ยวคืออะไร?
ตามเอกสารสิทธิบัตร ระบบนี้คือกลไกที่สามารถ ช่วยควบคุมการหมุนของแฮนด์ โดยอัตโนมัติเมื่อระบบตรวจพบความเสี่ยงในการชน หรือเมื่อตรวจพบว่าผู้ขี่ตอบสนองไม่ทันต่อเหตุการณ์ตรงหน้า ต่างจากรถยนต์ ระบบนี้ต้องคำนึงถึงปัจจัยเฉพาะของมอเตอร์ไซค์ เช่น
- การทรงตัวของตัวรถ
- มุมเอียงขณะเข้าโค้ง
- น้ำหนักผู้ขี่และสัมภาระ
- พฤติกรรมการควบคุมคันเร่งและเบรก

ทำงานอย่างไร?
ระบบจะทำงานร่วมกับ
- เซ็นเซอร์ตรวจจับรอบคัน
- เรดาร์หน้า-หลัง
- กล้องตรวจสอบสภาพจราจร
- ระบบเตือนจุดอับสายตา (Blind Spot)
หากระบบตรวจพบความเสี่ยง เช่น รถกำลังตัดหน้า หรือผู้ขี่ไม่ตอบสนองต่อการเตือน ระบบจะ เพิ่มแรงช่วยที่แฮนด์แบบค่อยเป็นค่อยไป เพื่อป้องกันการหักหลบแบบกระชาก ซึ่งมักนำไปสู่การเสียการควบคุม

เป้าหมาย ลดอุบัติเหตุ ไม่ใช่แทนที่ผู้ขี่
ฮอนด้าย้ำว่าระบบนี้ไม่ได้มีเป้าหมายแทนที่ผู้ขี่ แต่ทำหน้าที่เป็น “ผู้ช่วย” เพื่อ
- ลดการตื่นตระหนกในสถานการณ์ฉุกเฉิน
- ลดโอกาสการล้มจากการหักหลบแรงเกินไป
- เพิ่มโอกาสหลีกเลี่ยงการชน

เทคโนโลยีแห่งอนาคต?
แม้ระบบนี้ยังอยู่ในขั้นจดสิทธิบัตรและพัฒนา แต่สะท้อนทิศทางชัดเจนว่า ฮอนด้ากำลังนำเทคโนโลยีจากรถยนต์มาปรับใช้กับมอเตอร์ไซค์ เพื่อเพิ่มความปลอดภัยเชิงรุก (Active Safety) อย่างไรก็ตาม คำถามสำคัญคือ ผู้ใช้จะยอมรับ “การแทรกแซงจากระบบ” มากน้อยเพียงใด ระหว่างอิสระในการควบคุม กับความปลอดภัยที่เพิ่มขึ้น
บทสรุป
ระบบควบคุมการเลี้ยวของฮอนด้าอาจเป็นก้าวสำคัญของมอเตอร์ไซค์ในยุคใหม่ ที่ไม่ได้แค่ “วิ่งเร็ว” แต่ “ฉลาดและปลอดภัย” มากขึ้นและถ้าระบบนี้ถูกพัฒนาใช้งานจริง… มันอาจช่วยลดการสูญเสียบนท้องถนนได้อีกมากในอนาคต
ติดตามข่าวสารยานยนต์ : car2day.com
Page Facebook : Car2Day
Youtube : youtube.com/@Car2day










