Honda เผยตัวอย่างสิทธิบัตร CBR1000RR-R SP Fireblade รุ่นปี 2024 อัปเดตแนวคิดแอโรไดนามิกใหม่มีแรงกดเพิ่มขึ้น และแรงต้านลดลง

Honda อัปเดตทางเทคนิคที่สำคัญสำหรับ CBR1000RR-R SP Fireblade รุ่นปี 2024 แต่ส่วนใหญ่อยู่ภายใต้ชุดตัวถังที่ไม่มีการเปลี่ยนแปลง แต่การยื่นขอรับสิทธิบัตรใหม่ของ ฮอนด้า แสดงให้เห็นว่าได้รับแก้ไขที่สำคัญโดยมุ่งเน้นที่การเพิ่มแรงกดกับลดแรงต้านลง
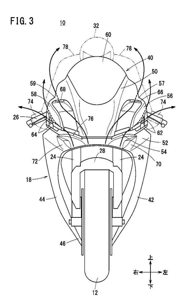
หนึ่งในการแก้ไขภายนอกไม่กี่รายการของ 2024 CBR1000RR-R SP คือการเพิ่ม Winglet แบบช่องใหม่ที่บริเวณกระจังหน้าของตัวรถ ซึ่งที่ได้รับแรงบันดาลใจจาก MotoGP ซึ่งมาแทนที่เวอร์ชันติดตั้งด้านข้างของรุ่นก่อน สิ่งเหล่านี้เป็นโซลูชันที่ได้รับการทดลอง และทดสอบแล้วสำหรับความต้องการดาวน์ฟอร์ซส่วนหน้าที่เพิ่มขึ้น ได้รับการพิสูจน์แล้วท่ามกลางการแข่งขันอันดุเดือด และนำเสนอการเชื่อมโยงภาพที่สะดวกกับ รถ MotoGP ของ ฮอนด้า แต่เพิ่มแรงต้าน อย่างหลีกเลี่ยงไม่ได้ เมื่อเปรียบเทียบกับการออกแบบแฟริ่งที่ดูสะอาดตากว่า รูปร่างที่ได้รับการปรับปรุงใหม่ทั้งหมดที่เห็นในการยื่นขอรับสิทธิบัตรที่เผยแพร่ใหม่มีเป้าหมายเพื่อสิ่งที่ดีที่สุดของทั้งสองโลก โดยปล่อยปีกที่ยื่นออกมา และลดพื้นที่ด้านหน้าของจักรยานยนต์เพื่อให้มีแรงต้านน้อยลง ในขณะเดียวกันก็นำเสนอการออกแบบกระจังหน้าที่เป็นนวัตกรรมใหม่ซึ่งมีจุดมุ่งหมายเพื่อจำลองแรงกดของส่วนที่หายไป วิงเล็ต

โดยพื้นฐานแล้ว แนวคิดก็คือการย้ายวิงเล็ตจากตำแหน่งปกติที่ด้านใดด้านหนึ่งของกระจังหน้าของจักรยานยนต์ และดันให้ชิดกันมากขึ้น โดยกำหนดเส้นทางอากาศเหนือพื้นผิวภายในกระจังหน้าผ่านช่องไอดีและช่องระบายอากาศต่างๆ ซึ่งตามเอกสารสิทธิบัตรของฮอนด้าอธิบายว่า “เมื่อมีการจัดวางปีกแบบกลับหัวไว้ที่ปลายทั้งสองข้างของกระจังหน้า ดาวน์ฟอร์ซจะมีขนาดใหญ่ อย่างไรก็ตาม การลากตามหลักอากาศพลศาสตร์ก็มีขนาดใหญ่เช่นกัน ในการประดิษฐ์ปัจจุบัน แรงกดสามารถเพิ่มขึ้นได้โดยส่วนครอบด้านหน้าส่วนที่มีรูปร่างแบบปีกกลับหัว นอกจากนี้ เนื่องจากปีกไม่จำเป็น การลากตามหลักอากาศพลศาสตร์จึงสามารถลดลงได้ ดังนั้นประสิทธิภาพการเคลื่อนที่ความเร็วสูงสุดและประสิทธิภาพการเร่งความเร็ว จึงปรับปรุงและเป็นผลให้ประสิทธิภาพการสิ้นเปลืองเชื้อเพลิงสามารถปรับปรุงได้”
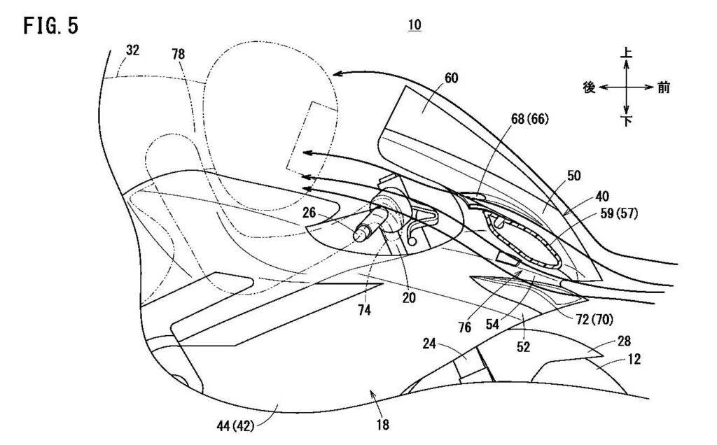
องค์ประกอบหลักที่มองเห็นได้ของดีไซน์ใหม่คือช่องอากาศเข้าที่มองเห็นได้ชัดเจนทั้งสองด้านของหน้าจอ ซึ่งอยู่ข้างหน้าแฮนด์รถ สิ่งเหล่านี้จะจับคู่กับท่อไอดีชุดที่สองที่ติดตั้งอยู่ด้านล่างลงมา ภายในส่วนเว้าใต้ขอบนำของกระจังหน้า ท่อไอดีทั้งสองถูกจับคู่กับช่องระบายอากาศที่ด้านหลังของแฟริ่ง แต่สิ่งที่ไม่สามารถมองเห็นได้ในทันทีคือรูปทรงของตัวถังภายในที่อากาศไหลผ่านระหว่างช่องไอดีและช่องระบายอากาศ ข้อมูลนี้เปิดเผยไว้ในภาพวาดเดียวในการยื่นจดสิทธิบัตรของฮอนด้า (ทำเครื่องหมายในรูปที่ 5) ซึ่งแสดงส่วนที่ตัดออกของกระจังหน้า และเผยให้เห็นว่าอากาศไหลไปรอบๆ โปรไฟล์ปีกที่ทำมุมก้าวร้าวภายในจักรยานยนต์

นอกจากจะสร้างดาวน์ฟอร์ซและลดพื้นที่ส่วนหน้าแล้ว การออกแบบยังอ้างว่าให้ประโยชน์ด้านแอโรไดนามิกเพิ่มเติมที่ด้านหลัง โดยควบคุมการไหลเวียนของอากาศที่สะอาดรอบๆ ผู้ขับขี่ได้อย่างทั่วถึง โดยในสิทธิบัตรระบุว่าเมื่อผ่านกระจังหน้าและส่วนปีกภายในแล้ว “อากาศที่ปล่อยออกมาจะทำหน้าที่เป็นม่านอากาศ เป็นผลให้ช่วงการป้องกันลมสำหรับผู้ขัับขี่สามารถลดลงได้ และเมื่อมองจากด้านหน้าสามารถลดขนาดลงได้ ดังนั้นการลากตามหลักอากาศพลศาสตร์จึงสามารถลดลงได้อีก”
แม้ว่าภาพวาดทั้งหมดในสิทธิบัตรจะแสดงแฟริ่งที่ติดตั้งไว้รอบๆ CBR1000RR-R SP ด้วยรูปทรงของท่อไอเสีย เฟรม และสวิงอาร์มที่เข้ากันกับซูเปอร์ไบค์ ระดับท็อปของฮอนด้าในปัจจุบัน แต่ก็ยังเป็นไปได้อย่างชัดเจนที่จะใช้แนวคิดเดียวกันนี้กับซูเปอร์สปอร์ต แทบทุกประเภท และด้วยการยื่นจดสิทธิบัตรแนวคิดที่ฮอนด้าหวังจะป้องกันไม่ให้คู่แข่งสามารถเดินไปในทิศทางเดียวกันได้
Source : cycleworld.com
ติดตามข่าวสารยานยนต์ : car2day.com
Page Facebook : Car2Day
Youtube : youtube.com/@Car2day










