BMW เป็นผู้ผลิตในแถวหน้าด้านเทคโนโลยีไฟฟ้ามานานหลายปี ล่าสุดยื่นสิทธิบัตรอนาคตของระบบไฟฟ้า ที่อาจจะมีการเปลี่ยนแปลงเกิดขึ้นเร็วๆ นี้

ก่อนหน้านี้ทาง BMW ได้เปิดตัวและวางจำหน่ายมอไซค์ไฟฟ้าสองรุ่นอย่าง CE 02 และ CE 04 ซึ่งมีความโดดเด่นอย่างในตลาดสองล้อไฟฟ้าด้วยประสิทธิภาพที่เทียบมอเตอร์ไซค์ขนาด 125cc แต่ล่าสุด BMW กำลังพัฒนารถจักรยานยนต์ไฟฟ้าขนาดเล็กซึ่งอาจได้มาจากกลุ่มผลิตภัณฑ์ G 310

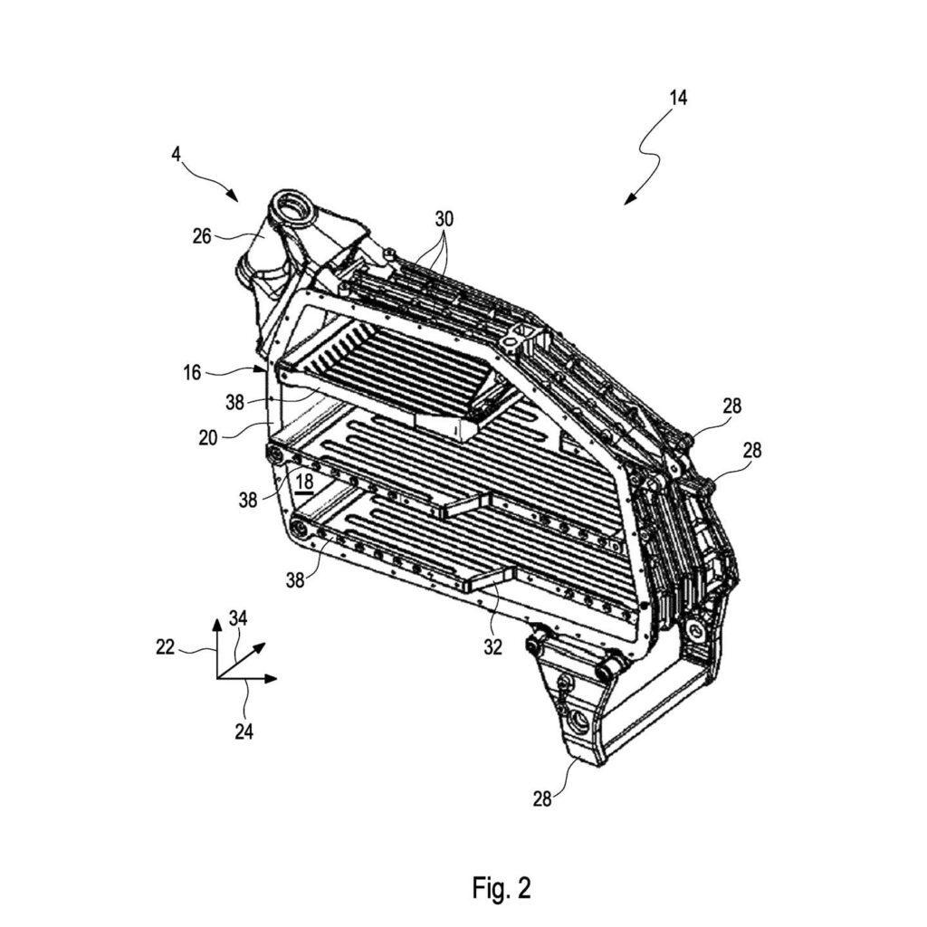
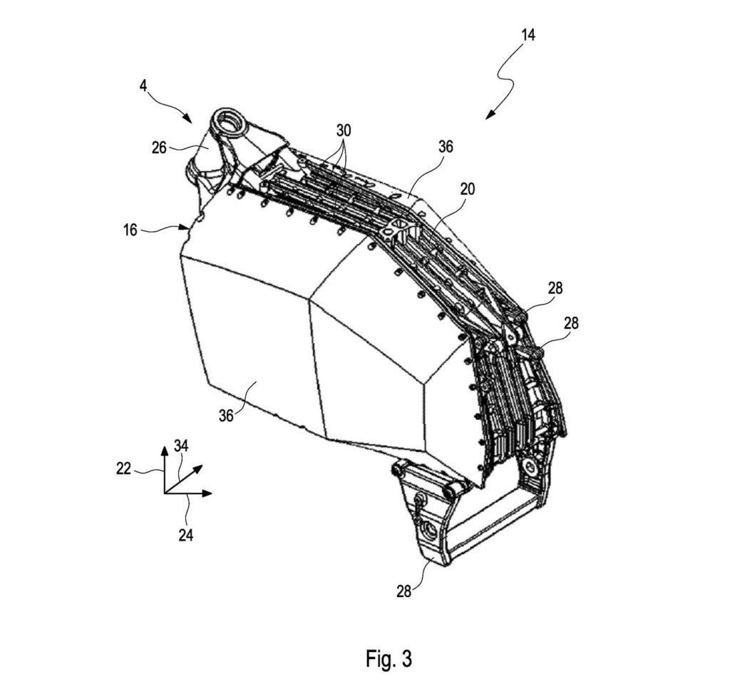
จากภาพการยื่นจดสิทธิบัตรล่าสุดชี้ให้เห็นว่าบริษัทกำลังพัฒนารถจักรยานยนต์ไฟฟ้าที่มีศักยภาพมากขึ้นด้วย โดยสื่อจักรยานยนต์จากต่างประเทศได้สรุปรากฐานสำหรับรถจักรยานยนต์ไฟฟ้าสมรรถนะสูงที่มีความสามารถเทียบเท่าขนาด 300cc ซึ่งใช้แบตเตอรี่อะลูมิเนียม และกล่องอิเล็กทรอนิกส์เป็นโครงสร้างแบบ monocoque การออกแบบนี้ช่วยให้ส่วนประกอบแบบโมดูลาร์รอบๆ โครงสร้างแบบ monocoque ช่วยให้สามารถปรับใช้กับประเภทต่างๆ ได้ ตัวอย่างเช่น แฮนด์บังคับเลี้ยวยึดติดกับด้านหน้าของโครงสร้างแบบ monocoque ที่สามารถเปลี่ยนเป็นดีไซน์ที่แตกต่างกันเพื่อให้เหมาะกับประเภทอื่นได้

ด้วยความเชี่ยวชาญของ BMW ในกลุ่มไฟฟ้าสี่ล้อทำให้ได้เปรียบในตลาดสองล้อ การมุ่งเน้นในด้านเทคโนโลยีไฟฟ้าและการจัดการกับความท้าทายหลักของระบบส่งกำลังไฟฟ้า โดยการเป็นผู้นำความก้าวหน้าในด้านแบตเตอรี่โซลิดสเตต (Solid-State Battery) ที่เบากว่าและมีอายุการใช้งานยาวนานกว่า แสดงให้เห็นว่ารถจักรยานยนต์ไฟฟ้าเริ่มแรกจาก BMW อาจมุ่งเป้าไปที่การขับขี่ในเมืองและการเดินทางในระยะทางที่ค่อนข้างสั้น อย่างไรก็ตาม ความเชี่ยวชาญนี้จะทำให้บริษัทผู้ผลิตสัญชาติเยอรมันรายนี้จะเป็นผู้บุกเบิกความก้าวหน้าในมอเตอร์ไซค์ไฟฟ้าสมรรถนะสูงได้อย่างแน่นอน
สุดท้ายนี้ก็ต้องมารอดูกันว่า BMW จะพัฒนาออกมาในรูปแบบไหน และจะมีสมรรถนะเป็นอย่างไร ก็ติดตามรอชมกันไว้ให้ดีเลย แต่เชื่อได้ว่าจะต้องเป็นมอเตอร์ไซค์ไฟฟ้าระดับพรีเมียมที่มาพร้อมกับเทคโนโลยีทันสมัยอย่างแน่นอน
ติดตามข่าวสารยานยนต์ : car2day.com
Page Facebook : Car2Day
Youtube : youtube.com/@Car2day










