CFMoto มุ่งเป้าไปที่กลุ่มซูเปอร์สปอร์ต ยื่นจดสิทธิบัตรสปอร์ตไฟฟ้ารุ่นใหม่ล่าสุด พร้อมนำเสนอโครงสร้างเฟรมที่แปลกใหม่และแนวคิดแบตเตอรี่แบบพิเศษ

แม้ตลาดมอเตอร์ไซค์ไฟฟ้าจะยังไม่เป็นที่ต้องการมากนักแต่ CFMoto ยังคงพัฒนาในด้านนี้อย่างต่อเนื่อง การยื่นขอจดสิทธิบัตรฉบับใหม่แสดงให้เห็นว่าผู้ผลิตชาวจีนรายนี้กำลังพัฒนารถจักรยานยนต์สปอร์ตไฟฟ้าเต็มรูปแบบที่โดดเด่นกว่ารุ่นก่อนๆ ด้วยโครงสร้างเฟรมที่แปลกใหม่และแนวคิดแบตเตอรี่แบบพิเศษ
ในขณะที่ผู้ผลิตหลายรายกำลังให้บริการตลาดรถจักรยานยนต์ไฟฟ้าด้วยมอเตอร์ไซค์เนคเก็ตไบค์ สกู๊ตเตอร์ หรือรถสำหรับเดินทางในเมือง CFMoto ดูเหมือนจะมุ่งเป้าไปที่กลุ่มซูเปอร์สปอร์ตอย่างจงใจ สิทธิบัตรสำหรับ 450SR เวอร์ชันไฟฟ้าได้รับการเผยแพร่แล้วในช่วงต้นปี 2024 แต่ดีไซน์ล่าสุดแสดงให้เห็นถึงโครงสร้างที่เป็นอิสระอย่างสมบูรณ์
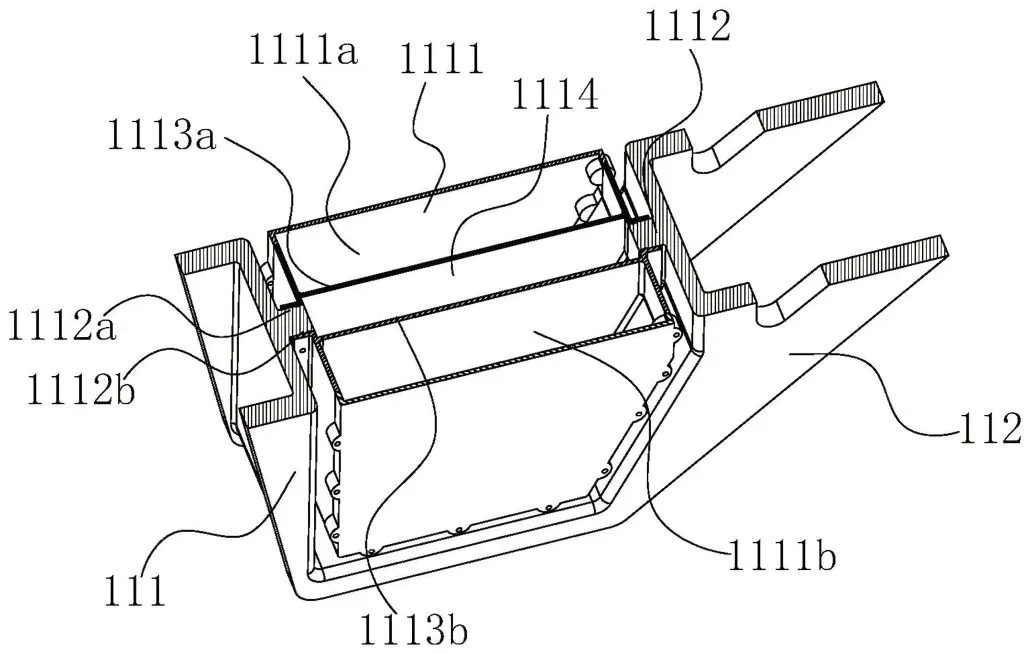
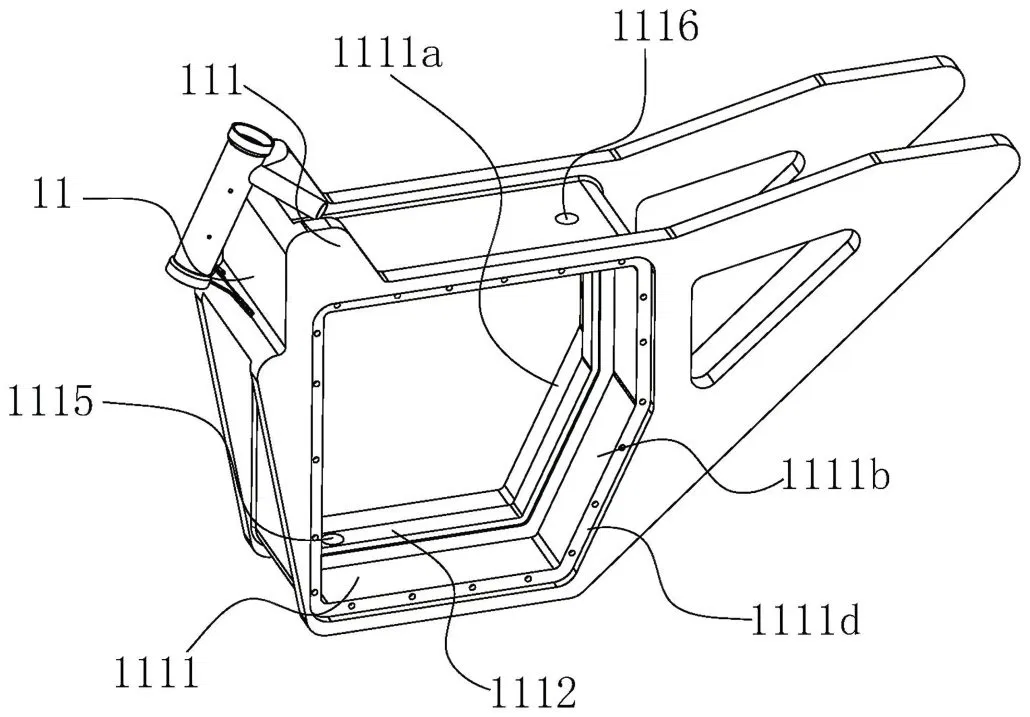
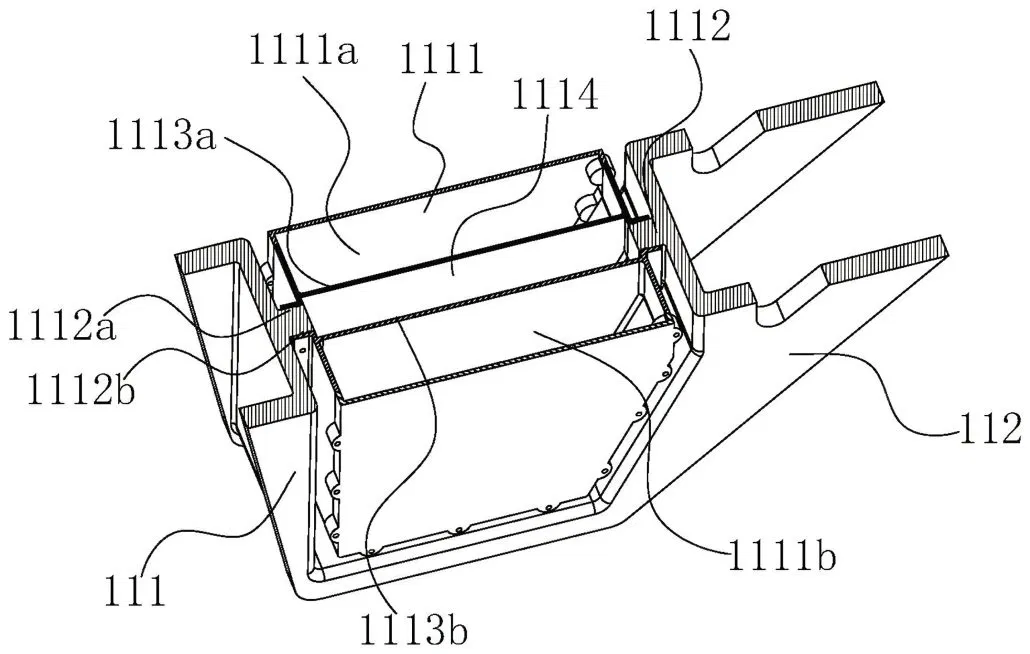
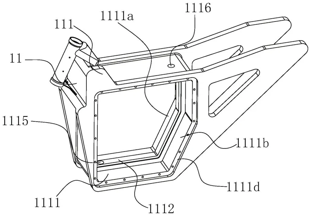
หัวใจสำคัญของดีไซน์ใหม่นี้คือแนวคิดของเฟรมที่แตกต่างจากเฟรมแบบ double-loop หรือ bridge แบบดั้งเดิมอย่างมาก CFMoto ใช้แผ่นด้านข้างขนาดใหญ่สองแผ่น ซึ่งคาดว่าทำจากอะลูมิเนียม แผ่นเหล่านี้ปิดช่องใส่แบตเตอรี่ และทำหน้าที่เป็นทั้งส่วนรองรับและจุดยึดสำหรับหัวพวงมาลัย มอเตอร์ไฟฟ้า แบตเตอรี่ และสวิงอาร์ม
นอกจากนี้ตำแหน่งของมอเตอร์โดดเด่นเป็นพิเศษ ต่างจากมอเตอร์ไซค์ไฟฟ้าทั่วไปตรงที่ไม่ได้อยู่ด้านหน้า แต่อยู่ด้านหลัง และผสานเข้ากับสวิงอาร์มการจัดวางแบบนี้ช่วยเพิ่มพื้นที่ด้านหน้าให้รองรับเซลล์แบตเตอรี่เพิ่มเติมได้ ซึ่งอาจส่งผลให้ระยะทางวิ่งไกลขึ้นและเวลาในการชาร์จอาจเร็วขึ้น
อีกทั้งการออกแบบยังโดดเด่นด้วยโมดูลแบตเตอรี่ขนาดบางสองโมดูลที่สอดเข้าไปในด้านข้างของเฟรม ทำให้เกิดช่องว่างระหว่างโมดูลทั้งสองซึ่งสามารถเติมสารหล่อเย็นได้ ครีบระบายความร้อนบนแบตเตอรี่จะถ่ายเทความร้อนไปยังตัวกลางนี้ วิธีนี้ชี้ให้เห็นว่าทางค่ายต้องการเปิดใช้งานการชาร์จอย่างรวดเร็ว เนื่องจากการควบคุมอุณหภูมิมีความสำคัญอย่างยิ่งในกระบวนการนี้
อย่างไรก็ตามชุดชาร์จและชุดควบคุมอิเล็กทรอนิกส์ตั้งอยู่เหนือโครงรถและปิดทับด้วยชิ้นส่วนแฟริ่งที่ดูคล้ายกับถังเชื้อเพลิงแบบคลาสสิก เบาะหลังยังรองรับด้วยแผ่นโครงด้านข้าง การออกแบบที่กะทัดรัดนี้ช่วยลดจำนวนชิ้นส่วนและอาจเป็นการลดต้นทุนการผลิตอีกด้วย
สุดท้ายนี้โครงการซูเปอร์สปอร์ตในปัจจุบัน CFMoto แสดงให้เห็นว่าต้องการเตรียมพร้อมรับมือกับการเปลี่ยนแปลงของตลาดในอนาคต แม้ว่ารถจักรยานยนต์ไฟฟ้าจะยังไม่สามารถเข้าถึงฐานลูกค้าได้อย่างกว้างขวาง แต่ผู้ผลิตกำลังเตรียมพร้อมสำหรับมาตรฐานการปล่อยมลพิษที่เข้มงวดขึ้น และสิทธิบัตรนี้ชี้ให้เห็นถึงการออกแบบใหม่อย่างต่อเนื่อง ซึ่งโดดเด่นด้วยโครงสร้างเฟรมที่ล้ำสมัย โซลูชันแบตเตอรี่แบบแยกส่วน และระบบการจัดการความร้อนที่มีประสิทธิภาพ แม้ว่าปัจจุบันยังไม่เป็นที่ทราบแน่ชัดว่าแนวคิดนี้จะถูกนำไปผลิตเป็นชุดหรือไม่และเมื่อใด
ติดตามข่าวสารยานยนต์ : car2day.com
Page Facebook : Car2Day
Youtube : youtube.com/@Car2day















