Ducati อาจขยายระบบเกียร์ Panigale V4 R สู่รุ่นอื่นในอนาคต โดยสิทธิบัตรใหม่เผยแนวคิด Neutral Lock และตำแหน่งเกียร์แบบรถแข่ง

สิทธิบัตรใหม่เผยแนวคิด Neutral Lock และตำแหน่งเกียร์แบบรถแข่ง
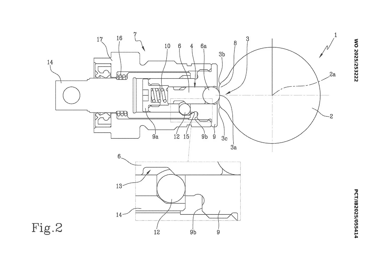
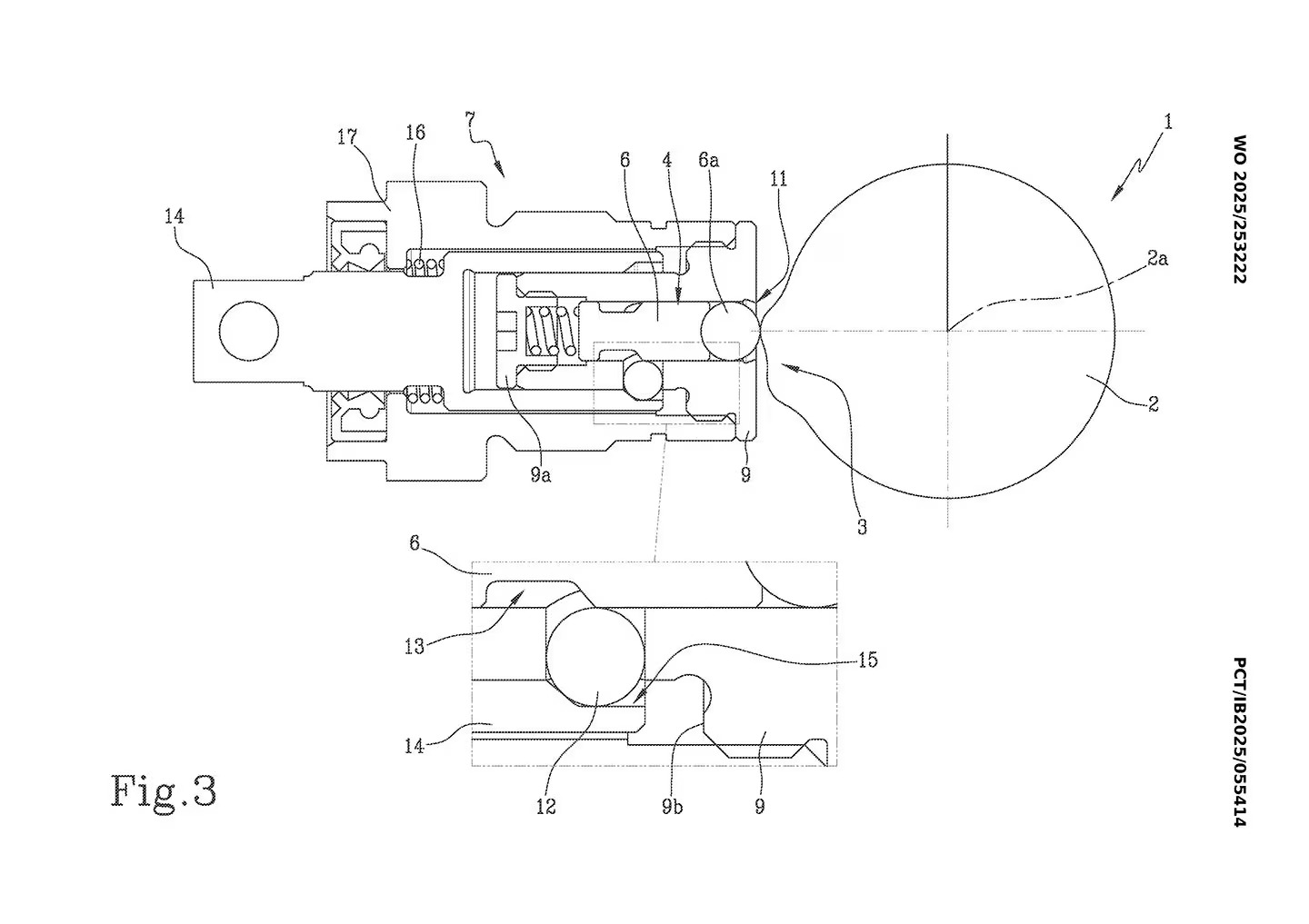
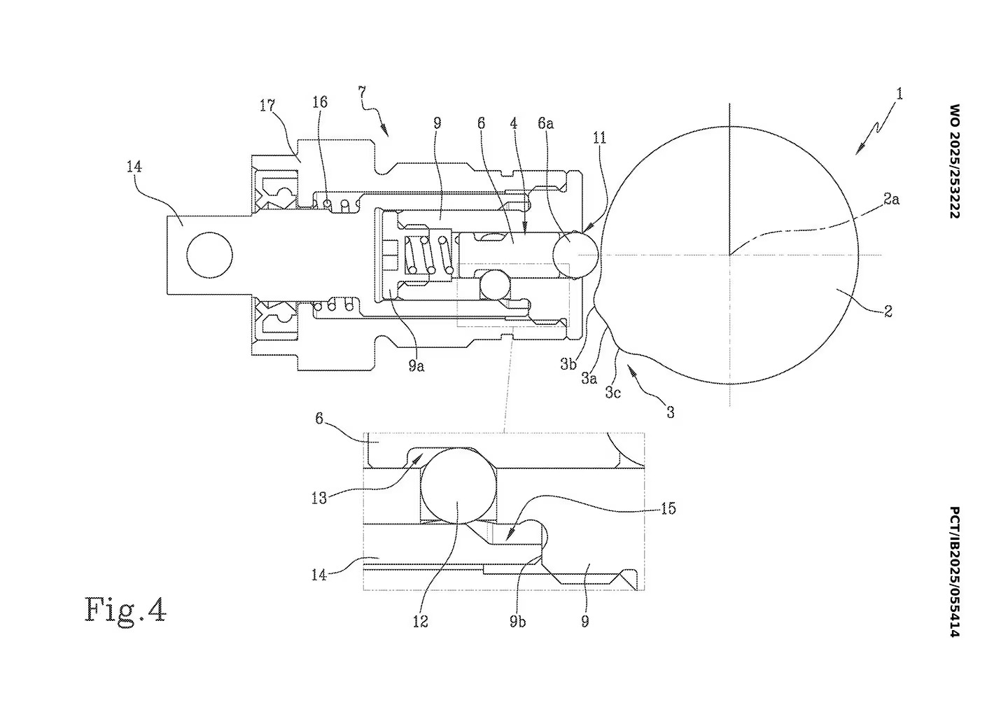
Ducati อาจเตรียมนำระบบเกียร์แบบเดียวกับ Panigale V4 R รุ่นปี 2026 ไปใช้กับรถรุ่นอื่นเพิ่มเติม หลังมีการเปิดเผยสิทธิบัตรใหม่ที่อธิบายโครงสร้าง Neutral Lock หรือระบบป้องกันการเข้าเกียร์ว่างโดยไม่ตั้งใจ ซึ่งถูกออกแบบมาให้ใช้งานได้ง่าย มีต้นทุนต่ำ และเหมาะกับการผลิตเชิงพาณิชย์

เปลี่ยนจาก “1-N-2-3-4-5-6” สู่รูปแบบเกียร์รถแข่ง
ตลอดหลายทศวรรษที่ผ่านมา รถจักรยานยนต์ส่วนใหญ่ใช้รูปแบบเกียร์มาตรฐาน 1-N-2-3-4-5-6 หรือที่คุ้นเคยกันว่า “หนึ่งลง ที่เหลือขึ้น” อย่างไรก็ตาม Ducati ชี้ว่า รูปแบบนี้เพิ่งกลายเป็นมาตรฐานตั้งแต่ช่วงทศวรรษ 1970 เท่านั้น
ในอดีต รถจำนวนไม่น้อยใช้รูปแบบ N-1-2-3-4-5-6 หรือ “เกียร์ขึ้นทั้งหมด” โดยมีเกียร์ว่างอยู่ด้านล่างสุด เช่น Kawasaki Mach IV H2 ซึ่งให้ความได้เปรียบด้านการขับขี่เชิงสปอร์ต แต่มีข้อเสียคือ เสี่ยงต่อการเข้าเกียร์ว่างโดยไม่ตั้งใจขณะลดเกียร์

DRG Gearbox กับ Neutral Lock เทคโนโลยีจากสนามแข่ง
ใน Panigale V4 R รุ่นใหม่ Ducati ได้นำระบบ DRG (Ducati Racing Gearbox) กลับมาใช้ ซึ่งเป็นรูปแบบเดียวกับรถแข่ง พร้อมเพิ่มระบบ Ducati Neutral Lock (DNL) เพื่อแก้ปัญหาการเข้าเกียร์ว่างผิดพลาด
ระบบนี้ใช้คันโยกที่ติดตั้งบนแฮนด์ด้านขวา ผู้ขับขี่จะไม่สามารถเข้าเกียร์ว่างได้เลย หากไม่กดคันโยกดังกล่าวโดยตั้งใจ ทำให้การใช้งานบนสนามแข่งมีความปลอดภัยและแม่นยำสูงขึ้น ซึ่งเป็นแนวคิดที่ใช้กันอย่างแพร่หลายใน MotoGP อยู่แล้ว

กลไกภายในที่เรียบง่าย แต่ชาญฉลาด
จากรายละเอียดในสิทธิบัตร ระบบเกียร์รูปแบบ N-1-2-3-4-5-6 เกิดจากการปรับดีไซน์ของ Selector Drum เพียงเล็กน้อย ส่วน Neutral Lock ใช้กลไกเชิงกลที่ประกอบด้วย
- แคมที่ติดกับ Selector Drum
- ลูกบอลโลหะและแกนสปริง
- ปลอกสวมที่ทำหน้าที่ล็อกตำแหน่ง
เมื่อออกจากเกียร์ว่าง ระบบจะล็อกไม่ให้ Selector Drum หมุนกลับไปที่ Neutral ได้อีก จนกว่าจะมีการปลดล็อกผ่านคันโยกที่แฮนด์ ซึ่งสามารถใช้ได้ทั้งระบบกลไก เช่น สายเคเบิล หรือระบบไฟฟ้าอย่างโซลินอยด์

เรียบง่ายกว่า คู่แข่ง และพร้อมใช้งานจริง
Ducati ระบุในสิทธิบัตรว่า แม้ผู้ผลิตรายอื่นอย่าง Honda, Kawasaki และ Aprilia จะมีระบบ Neutral Lock ของตนเองเช่นกัน แต่แนวทางของ Ducati มีข้อได้เปรียบด้านความเรียบง่าย ต้นทุนต่ำ และความทนทานสูง
ด้วยเหตุนี้ จึงมีความเป็นไปได้สูงที่ระบบเกียร์แบบเดียวกับ Panigale V4 R จะถูกนำไปใช้กับ Ducati รุ่นถนนและซูเปอร์ไบค์รุ่นอื่น ๆ ในอนาคต
เทคโนโลยีจากรุ่น R ที่อาจกลายเป็นมาตรฐานใหม่
ที่ผ่านมา Ducati มักใช้โมเดลตระกูล “R” เป็นเวทีเปิดตัวเทคโนโลยีใหม่ ก่อนจะถ่ายทอดสู่รุ่นโปรดักชันหลักในอีก 1–2 ปีถัดมา ไม่ว่าจะเป็นระบบแอโรไดนามิก ช่วงล่าง หรือเครื่องยนต์
หากเป็นไปตามแนวโน้มเดิม ระบบเกียร์ DRG พร้อม Neutral Lock อาจกลายเป็นอีกหนึ่งเทคโนโลยีที่ถูกนำไปใช้กับ Ducati รุ่นอื่นในอนาคตอันใกล้ โดยเฉพาะรถที่เน้นสมรรถนะและการขับขี่เชิงสปอร์ต
ติดตามข่าวสารยานยนต์ : car2day.com
Page Facebook : Car2Day
Youtube : youtube.com/@Car2day










