Toyota จดสิทธิบัตร Hydrogen Scooter เปลี่ยนถังได้ทันที เติมเร็วไม่ง้อชาร์จ

Toyota เปิดสิทธิบัตร Hydrogen Scooter เปลี่ยนถังสำเร็จรูปได้ทันที เติมพลังเร็วกว่า EV เจาะอนาคตยานยนต์สองล้อพลังสะอาดที่อาจเปลี่ยนเกม

Toyota ขยับอีกก้าวในเกมพลังงานสะอาด ด้วยการจดสิทธิบัตร “สกู๊ตเตอร์ไฮโดรเจน” ที่มาพร้อมแนวคิดเติมพลังแบบใหม่ เปลี่ยนถังได้ทันที ไม่ต้องเสียเวลาชาร์จเหมือนรถไฟฟ้า

Toyota Hydrogen Scooter

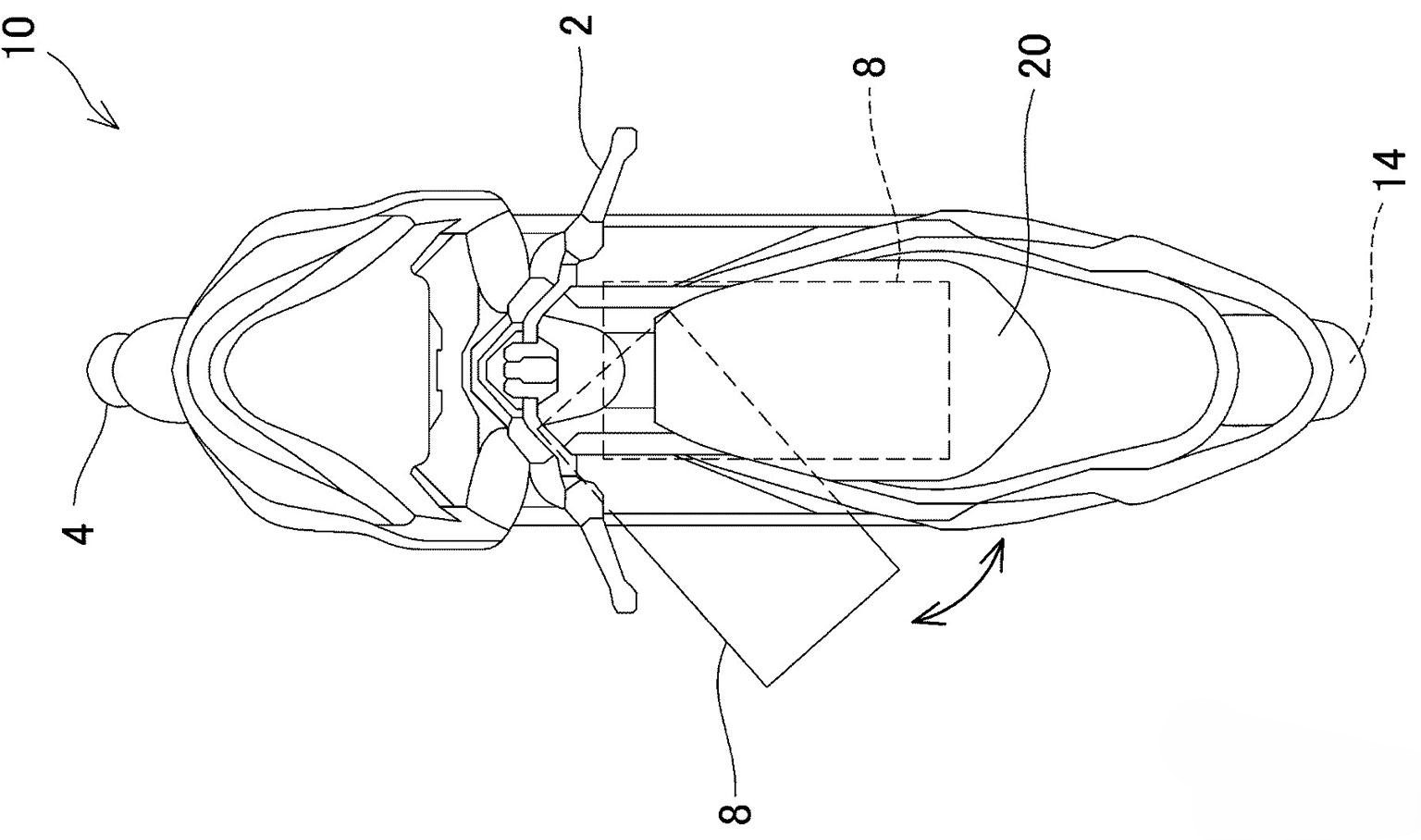
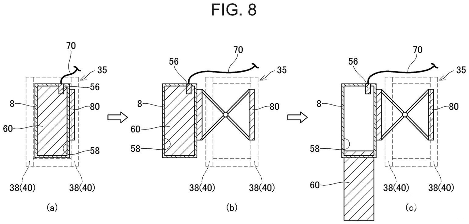
ไฮไลต์สำคัญของเทคโนโลยีนี้คือการใช้ “ถังไฮโดรเจนสำเร็จรูป” ผู้ใช้งานสามารถแวะสถานี เติมพลังด้วยการถอดถังเก่าแล้วใส่ถังใหม่เข้าไปแทน ใช้เวลาเพียงไม่กี่นาที ตอบโจทย์คนเมืองที่ต้องการความเร็วและความสะดวก

Toyota Hydrogen Scooter

ดีไซน์ในสิทธิบัตรเผยให้เห็นระบบติดตั้งถังแบบพิเศษ ที่สามารถสวิงออกด้านข้างหรือเลื่อนออกมาได้ ทำให้การเปลี่ยนถังทำได้ง่าย แม้ตัวถังจะถูกวางไว้บริเวณกลางรถเพื่อรักษาสมดุลน้ำหนัก

Toyota Hydrogen Scooter

แนวคิดนี้ไม่ได้มาแบบลอยๆ เพราะมีพื้นฐานจากความร่วมมือกับ Suzuki ซึ่งเคยพัฒนาสกู๊ตเตอร์ไฮโดรเจนต้นแบบมาก่อน และทั้งสองค่ายยังอยู่ในโปรเจกต์ HYSE ที่มุ่งพัฒนาเทคโนโลยีไฮโดรเจนสำหรับรถขนาดเล็ก

จุดเด่นของระบบ Fuel Cell คือการผลิตไฟฟ้าจากปฏิกิริยาระหว่างไฮโดรเจนกับออกซิเจน โดยปล่อยเพียงน้ำออกมาเท่านั้น ทำให้สะอาดกว่าเครื่องยนต์ทั่วไป และมีประสิทธิภาพสูงกว่าเครื่องยนต์ไฮโดรเจนแบบเผาไหม้

แม้แนวคิดนี้ยังอยู่ในขั้นสิทธิบัตร และยังไม่มีแผนวางขายในเร็วๆ นี้ แต่ก็สะท้อนชัดว่า Toyota ยังเดินหน้าผลักดัน “สังคมไฮโดรเจน” อย่างจริงจัง และมองไกลไปถึงตลาดรถสองล้อ


ติดตามข่าวสารยานยนต์ : car2day.com
Page Facebook : Car2Day
Youtube : youtube.com/@Car2day

ABOUT THE AUTHOR

Latest Posts