Honda เผยสิทธิบัตรใหม่ของ MotoCompacto รุ่นใหม่ ที่กำลังเตรียมพัฒนาให้มีขนาดใหญ่ขึ้น และจะมาพร้อมกับ 2 ที่นั่งและล้อ 4 ล้อ

Honda MotoCompacto สกู๊ตเตอร์ไฟฟ้าแบบพับได้ รุ่นดั้งเดิมจะมาพร้อมกับ ที่นั่งเดี่ยว และขนาดกระทัดรัดพกพาง่าย แต่ล่าสุด ฮอนด้า ได้เผยสิทธิบัตร ของยานพาหนะพกพาเวอร์ชั่นใหม่ที่มีชื่อว่า Mobility Apparatus โดยจะมาพร้อมกับขนาดที่ใหญ่ขึ้น มีสองที่นั่ง และสีล้อ
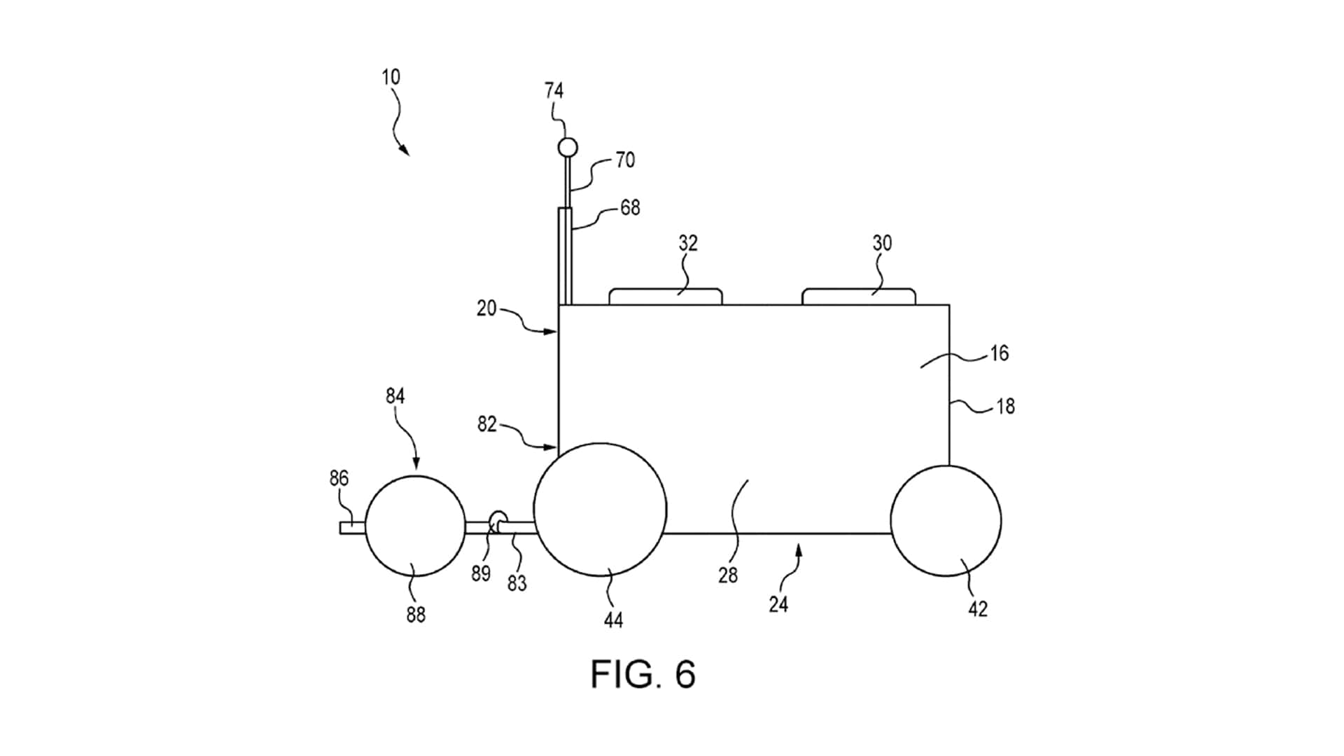
จากภาพสิทธิบัตรจะเห็นว่า Mobility Apparatus เป็น MotoCompacto ขนาดใหญ่ขึ้น มี 2 ที่นั่ง และล้อ 4 ล้อ ซึ่งออกแบบโดยใช้พื้นฐานมาจากรุ่นดั้งเดิม แต่เวอร์ชั่นใหม่นี้ถูกออกแบบโดยมีเป้าหมาย เพื่อการใช้งานแบบครอบครัว ซึ่งได้ระบุข้อมูลตามเอกสารสิทธิบัตรว่า “เป้าหมายหลัก คือ ต้องการสร้างปฏิสัมพันธ์ ของ พ่อ แม่ และ ลูก ให้ได้มีโอกาสสร้างประสบการณ์ระหว่างการเดินทาง ด้วยยานพาหนะรูปแบบใหม่ ที่จะมาสร้างความตื่นเต้นสำหรับเด็กๆ ได้เดินทางสัมผัสประสบการณ์ที่แตกต่างกันไม่ว่าจะเป็น ในเมือง ใจกลางเมือง หรือย่านการค้าขนาดใหญ่ และให้โอกาสไปยังจุดหมายปลายทางเพิ่มเติมที่ยังไม่ได้วางแผนไว้ให้สนุกสนานยิ่งขึ้น”
สำหรับรายละเอียดโดยรวมจะเห็นได้ว่า Mobility Apparatus มีที่นั่ง 2 ที่นั่งและแฮนด์จับ 3 อัน โดยแฮนด์จับด้านหน้า 2 อัน จะเชื่อมต่อเข้ากับตัวรถ และยึดติดในลักษณะที่ให้ผู้ขับขี่ทั้ง 2 คนจับได้ ส่วนของแฮนด์จับอีกอันพร้อมแท่นยืนขนาดเล็กที่ด้านหลังทำหน้าที่ควบคุม
อย่างไรก็ตาม MotoCompacto ยังคงได้รับการออกแบบที่เน้นความสะดวกสบายด้วยช่องเก็บของใต้เบาะนั่ง และสามารถลากด้วยแฮนด์ หรือจะลากตามไปเจ้าของโดยระบบอัตโนมัติก็สามารถทำได้เช่นกัน
นอกจากนี้ในข้อมูลสิทธิบัตรดัง ยังได้ระบุถึงเรื่องนี้เพิ่มเติม “การขับรถและจอดรถในเมืองอาจมีค่าใช้จ่ายสูง และระบบขนส่งสาธารณะส่วนใหญ่มักเป็นทางเลือกการเดินทางแบบจุดต่อจุด วิธีแก้ปัญหาคือลดเวลาที่ใช้ในการรอรถให้เหลือน้อยที่สุด และไม่ปล่อยให้เด็กๆ เดินเป็นระยะทางไกลซึ่งผลลัพธ์จะคาดเดาได้ มีการระบุถึงความจำเป็นในการใช้อุปกรณ์ช่วยการสัญจรสำหรับครอบครัวที่มีขนาดกะทัดรัด พกพาง่าย จัดเก็บได้ และมีมอเตอร์ช่วยขับเคลื่อนเพื่อให้ครอบครัวสามารถเดินทางร่วมกันได้ไกลขึ้นในเมืองหรือในเขตเมือง”
สุดท้ายนี้ Mobility Apparatus ยังอยู่กำลังอยู่ระหว่างการพัฒนา ซึ่งทาง ฮอนด้า ก็ยังไม่ได้ประกาศรายละเอียดสำคัญมากนัก แต่คาดว่าจะมีการเปิดตัวในเร็วๆ นี้
Source : rideapart.com
ติดตามข่าวสารยานยนต์ : car2day.com
Page Facebook : Car2Day
Youtube : youtube.com/@Car2day















