Yamaha ยื่นจดสิทธิบัตร สปอร์ตไบค์ไฟฟ้ารุ่นใหม่ ที่ชี้ให้เห็นถึงการพัฒนารถสปอร์ตสมรรถนะสูงที่ขับเคลื่อนด้วยแบตเตอรี่รุ่นใหม่ ซึ่งอาจอยู่ระหว่างการพัฒนา

แม้ว่าบริษัทญี่ปุ่นรายนี้ยังไม่ได้ก้าวเข้าสู่โลกของรถสปอร์ตไฟฟ้า แต่ล่าสุดสิทธิบัตรที่เปิดเผยโดย Cycle World แสดงให้เห็นว่าสิ่งนี้กำลังจะเปลี่ยนแปลง ซึ่งได้มีการยื่นจดสิทธิบัตรของ Yamaha ชี้ให้เห็นถึงการพัฒนารถสปอร์ตสมรรถนะสูงที่ขับเคลื่อนด้วยแบตเตอรี่รุ่นใหม่ โดยเน้นที่การเพิ่มพื้นที่สำหรับแบตเตอรี่และลดน้ำหนักให้เหลือน้อยที่สุด
ระหว่างปี 2013 ถึง 2015 ทาง ยามาฮ่า ได้เคยเปิดตัวแนวคิดของมอเตอร์ไซค์ไฟฟ้ารุ่น PES1 และ PES2 ซึ่งมอเตอร์ไซค์ทั้งสองรุ่นนี้ไม่ได้วางจำหน่ายในโชว์รูม แต่แนวคิดในการสร้างมอเตอร์ไซค์ไฟฟ้ายังคงไม่ถูกลืม โดยล่าสุดการออกแบบที่จดสิทธิบัตรของ ยามาฮ่า แสดงให้เห็นอย่างชัดเจนถึงความมุ่งมั่นในการส่งมอบมอเตอร์ไซค์สปอร์ตไฟฟ้าสมรรถนะสูง
แม้ว่า ยามาฮ่า จะตั้งใจสร้างมอเตอร์ไซค์ที่เปี่ยมประสิทธิภาพ แต่สิทธิบัตรดังกล่าวแสดงให้เห็นรถสปอร์ตไบค์ที่มีโครงรถแบบธรรมดาที่ผสมผสานระหว่างเฟรมหน้าแบบโครงระแนงกับแกนสวิงอาร์มที่ดูเหมือนทำจากอะลูมิเนียม แต่หุ้มด้วยโครงครีบขนาดใหญ่ที่บรรจุแบตเตอรี่ และอุปกรณ์อิเล็กทรอนิกส์แทนที่จะเป็นเครื่องยนต์สันดาปภายใน ซึ่งการออกแบบดังกล่าวมีจุดประสงค์อย่างชัดเจนเพื่อเพิ่มพื้นที่แบตเตอรี่ให้มากที่สุด เนื่องจากมอเตอร์ไฟฟ้าติดตั้งไว้ด้านหลังให้มากที่สุด
อย่างไรก็ตามรายละเอียดหลักในการยื่นจดครั้งนี้จะมุ่งเน้นไปที่ส่วนของ เคสแบตเตอรี่ และตัวแบตเตอรี่ ซึ่งทาง ยามาฮ่า เลือกใช้ระบบระบายความร้อนด้วยอากาศเพื่อความเรียบง่ายและน้ำหนักเบา ในขณะที่มอเตอร์ไซค์ไฟฟ้าสมรรถนะสูงบางรุ่นใช้แบตเตอรี่ระบายความร้อนด้วยของเหลว แต่สำหรับระบบระบายความร้อนด้วยอากาศมีข้อดีคือช่วยลดน้ำหนัก ต้นทุน และความซับซ้อน และด้วยแบตเตอรี่รุ่นต่อๆ ไปซึ่งคาดว่าจะสามารถรับมือกับอุณหภูมิที่กระจายได้กว้างขึ้น จึงอาจสมเหตุสมผลมากขึ้น โดยเฉพาะกับมอเตอร์ไซค์ที่พื้นที่ และน้ำหนักเป็นสิ่งสำคัญ
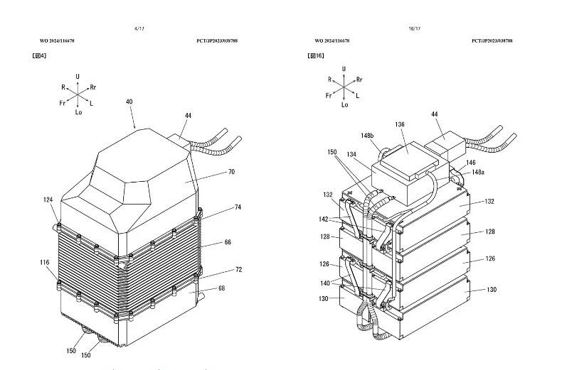
สำหรับการออกแบบได้ลดความซับซ้อนของเคสแบตเตอรี่โดยใช้ชิ้นส่วนหล่อขนาดใหญ่ตรงกลาง ส่วนบน และส่วนล่างที่มีลักษณะเป็นถัง การออกแบบดังกล่าวมีจุดมุ่งหมายเพื่อลดจำนวนตะเข็บให้เหลือน้อยที่สุด เพื่อลดโอกาสที่น้ำจะเข้ามาได้ ภายในมีแท่นรองรับสี่แท่น โดยแต่ละแท่นรองรับโมดูลแบตเตอรี่สองชุด ด้านข้าง และด้านล่างของเคสแบตเตอรี่มีครีบเพื่อระบายความร้อน เช่นเดียวกับด้านล่างของแท่นรองรับภายในแต่ละแท่น ครีบเหล่านี้ช่วยเพิ่มพื้นที่ในการระบายความร้อนแต่ยังเพิ่มความแข็งแกร่งโดยไม่ทำให้มีน้ำหนักเพิ่มขึ้นด้วย
ภายในส่วนบนนั้น ระบบควบคุมอิเล็กทรอนิกส์ของจักรยาน และระบบจัดการแบตเตอรี่จะวางอยู่บนโมดูลแบตเตอรี่ส่วนบน ในขณะที่อินเวอร์เตอร์ที่เปลี่ยนเอาต์พุต DC ของแบตเตอรี่เป็น AC เพื่อจ่ายไฟให้กับมอเตอร์ไฟฟ้าจะห้อยอยู่ใต้ท้องจักรยาน เครื่องชาร์จบนจักรยานจะอยู่ใต้เบาะ
สุดท้ายนี้มอเตอร์ไซค์สปอร์ตไบค์ไฟฟ้าจะมีพละกำลังเท่าไหร่ก็คงต้องติดตามรออัพเดทกันอีกครั้ง แต่ก็มีความเป็นไปได้ว่า ยามาฮ่า จะใช้ขุมพลังจาก ธุรกิจผลิตเครื่องยนต์ไฟฟ้าของตัวเอง ซึ่งเป็นเครื่องยนต์ขนาด 35 กิโลวัตต์ (47 แรงม้า) ถึง 350 กิโลวัตต์ (470 แรงม้า) ให้กับลูกค้าภายนอก และด้วยการพัฒนารถจักรยานยนต์ไฟฟ้าที่ไม่มีใครเคยเห็นมาก่อนเป็นเวลานานกว่าทศวรรษ ดูเหมือนว่า ยามาฮ่า กำลังรอเงื่อนไขทางการตลาดที่เหมาะสมเพื่อเข้าสู่ตลาดของยานยนต์ไฟฟ้าสมรรถนะสูง
Source : cycleworld.com
ติดตามข่าวสารยานยนต์ : car2day.com
Page Facebook : Car2Day
Youtube : youtube.com/@Car2day














