ช่างซ่อมรถและสาย DIY เตรียมปวดหัว เมื่อยักษ์ใหญ่จากเยอรมนีอย่าง BMW ได้ยื่นจดสิทธิบัตร สกรูรูปโลโก้ BMW ที่มีหัวสกรูแบบพิเศษ ลักษณะคล้ายกับโลโก้ของแบรนด์ ซึ่งอาจทำให้การซ่อมบำรุงรถยนต์ด้วยเครื่องมือทั่วไปทำได้ยากกว่าเดิม 
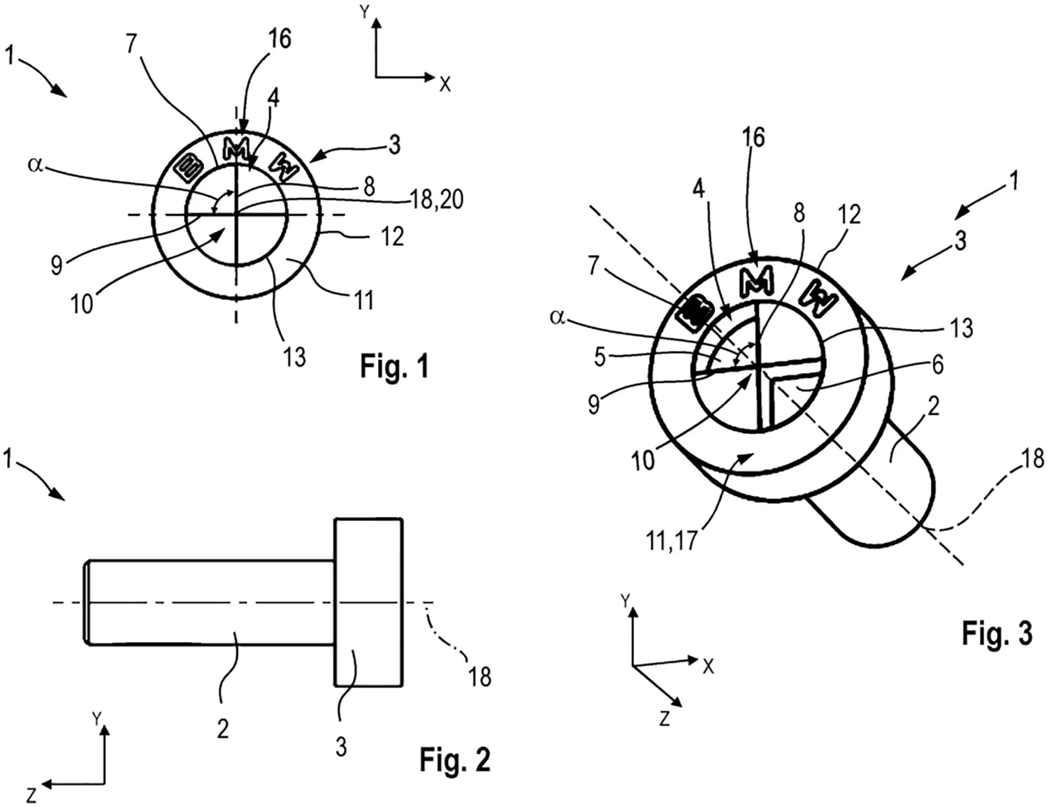
จากการรายงานของสื่อต่างประเทศอย่าง Autoblog และ Carscoops ระบุว่า BMW ได้ยื่นจดสิทธิบัตรสกรูรูปแบบใหม่ โดยออกแบบหัวสกรูให้มีลวดลายคล้ายตราสัญลักษณ์ BMW หรือที่เรียกว่า Roundel ซึ่งแตกต่างจากสกรูทั่วไปที่ใช้หัวแบบมาตรฐาน เช่น แฉก หรือหกเหลี่ยม
ในเอกสารสิทธิบัตรระบุว่ามีหัวสกรูทั้งหมด 4 รูป ทั้งแบบหัวจม หัวแบน หัวโค้ง และหัวแบบยกขอบ ซึ่งทุกแบบจะมีความคล้ายกันคือแบ่งเป็น 4 ส่วน ซึ่ง 2 ส่วนที่เป็นร่องลึก และอีก 2 ส่วนอาจเป็นพื้นเรียบหรือยกนูนขึ้นมา ส่งผลให้ไม่สามารถใช้ไขควงหรือบล็อกแบบมาตรฐานทั่วไปในการขันได้ และจำเป็นต้องใช้เครื่องมือเฉพาะที่ออกแบบมาให้เข้ากับสกรูรูปแบบใหม่นี้เท่านั้น
BMW ให้เหตุผลว่า การใช้สกรูลักษณะนี้จะช่วยเพิ่มความปลอดภัยมากยิ่งขึ้น ช่วยป้องกันกรณีที่มี บุคคลที่ไม่ได้รับอนุญาต เข้าไปทำการคลายหรือขันสกรูในจุดที่สำคัญ ซึ่งอาจส่งผลต่อความปลอดภัยของโครงสร้างรถ
ในด้านของดีไซน์ ถือว่ามีความน่าสนใจ หากนำไปใช้กับชิ้นส่วนที่มองเห็นได้ในห้องโดยสารหรือห้องเครื่อง แต่อาจจะเป็นฝันร้ายของช่างซ่อมรถและเจ้าของรถ เพราะการเปลี่ยนอะไหล่เล็ก ๆ น้อย ๆ ด้วยตัวเอง หรือใช้บริการในอู่ทั่วไปที่ไม่มีเครื่องมือเฉพาะจะไม่สามารถทำได้เลย จำเป็นต้องพึ่งพาศูนย์บริการหรืออุปกรณ์เฉพาะของ BMW มากยิ่งขึ้น
ในขณะที่ผู้ผลิตรถยนต์บางรายพยายามทำให้การซ่อมง่ายขึ้น เช่น Mercedes-Benz ที่เริ่มเปลี่ยนจากการใช้กาวยึดไฟหน้า มาเป็นการใช้สกรูแทนเพื่อลดความยุ่งยากในการซ่อม แต่ BMW กลับมีแนวทางที่ต่างไปและอาจทำให้การซ่อมบำรุงซับซ้อนยิ่งขึ้น
แน่นอนว่าเรื่องนี้ได้รับเสียงวิพากษ์วิจารณ์อย่างหนักบนโลกออนไลน์ แม้ว่ามีความเห็นว่าผู้ผลิตอุปกรณ์ Aftermarket น่าจะสามารถผลิตดอกไขควงหรือเครื่องมือที่รองรับสกรูรูปแบบนี้ออกมาได้อย่างรวดเร็ว แต่ผู้ใช้รถส่วนใหญ่มองว่านี่คือการพยายามผูกขาดการซ่อมแซม
ขณะที่ ชาวเน็ตบางส่วนให้ความเห็นว่า “ต่อให้ BMW จะทำสกรูประหลาดแค่ไหน เชื่อเถอะว่าของก๊อปปี้จะถูกผลิตออกมาขายก่อนที่สกรูเหล่านี้จะถูกนำไปใช้งานจริงเสียอีก“
แม้จะยังไม่มีการยืนยันว่า BMW จะนำสกรูเหล่านี้มาใช้ในการผลิตจริงหรือไม่ แต่ก็เป็นสัญญาณที่น่ากังวลในแง่ของการซ่อมแซม โดยเฉพาะในปัจจุบันที่เต็มไปด้วยรถยนต์ไฟฟ้าที่มีระบบค่อนข้างซับซ้อน หากมีการใช้สกรูชนิดพิเศษจริง อาจทำให้ในอนาคต เจ้าของรถแทบไม่มีทางเลือกอื่นนอกจากต้องนำรถเข้าศูนย์บริการเพียงอย่างเดียว
ที่มา : Carscoops.com
ติดตามข่าวสารยานยนต์ได้ที่:car2day.com













