Honda จดสิทธิบัตรมอเตอร์ไซค์ไฟฟ้าราคาประหยัด ดีไซน์เรียบง่าย ใช้แบตเตอรี่ถอดได้ 2 ก้อน เจาะตลาดอินเดียและแอฟริกา

สิทธิบัตรใหม่จาก Honda เผยโฉมมอเตอร์ไซค์ไฟฟ้าราคาประหยัด เน้นเรียบง่ายและเข้าถึงง่าย
ท่ามกลางกระแสรถมอเตอร์ไซค์ไฟฟ้าระดับพรีเมียมที่มาพร้อมเทคโนโลยีล้ำสมัยและราคาสูง ล่าสุด Honda ได้ยื่นจดสิทธิบัตรรถจักรยานยนต์ไฟฟ้ารุ่นใหม่ที่เน้นความเรียบง่าย ต้นทุนต่ำ และประสิทธิภาพที่เพียงพอต่อการใช้งานในชีวิตประจำวัน แนวคิดนี้สะท้อนมุมมองที่ว่า รถไฟฟ้าไม่จำเป็นต้องไฮเทคหรือแรงจัดเสมอไป หากสามารถทำให้ราคาจับต้องได้ ก็อาจเข้าถึงผู้ใช้จำนวนมหาศาล โดยเฉพาะในตลาดเกิดใหม่อย่างอินเดียและประเทศในแอฟริกา
แนวคิด “เรียบง่าย ประหยัด ใช้งานจริง”
จากภาพสิทธิบัตร ตัวรถใช้โครงสร้างเหล็กแบบ backbone ทั่วไป พร้อมช่วงล่างหลังแบบโช้คคู่ ซึ่งเป็นโครงสร้างพื้นฐานที่ผลิตง่ายและต้นทุนต่ำ
อุปกรณ์ต่าง ๆ ถูกออกแบบให้เรียบง่ายที่สุด เช่น
- ดรัมเบรกหน้าแบบสายสลิง
- ไม่มีระบบชาร์จในตัว (On-board charger)
- หน้าจอแสดงผลพื้นฐาน
- ใช้กุญแจบิดแบบดั้งเดิม
จุดสำคัญคือการแทนที่เครื่องยนต์สูบเดี่ยวระบายความร้อนด้วยอากาศแบบเดิม ด้วยมอเตอร์ไฟฟ้าขนาดเล็ก ทำงานร่วมกับเกียร์ความเร็วเดียว

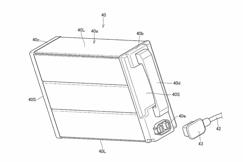
ระบบแบตเตอรี่ถอดได้ 2 ก้อน
ไฮไลต์สำคัญของสิทธิบัตรคือ “ระบบติดตั้งแบตเตอรี่”
ตัวรถใช้แบตเตอรี่แบบถอดได้ 2 ก้อน ติดตั้งไว้ด้านข้างตัวรถในกรอบโลหะแยกอิสระ โดยมีบานพับด้านหน้า ทำให้สามารถแกว่งกรอบแบตเตอรี่ออกด้านข้างเพื่อถอดก้อนแบตเตอรี่ออกได้สะดวก
เมื่อใส่แบตเตอรี่กลับเข้าไป โครงจะพับเข้าที่และล็อกเข้ากับตำแหน่งบริเวณถังน้ำมัน (ตำแหน่งเดิมของรถเครื่องยนต์) พร้อมระบบล็อกกุญแจป้องกันการถอดโดยไม่ได้รับอนุญาต
การชาร์จทำได้โดย:
- ถอดแบตเตอรี่ออกไปชาร์จในบ้าน
- หรือเสียบสายชาร์จผ่านสายยืดหยุ่นโดยตรงเมื่อแบตเตอรี่อยู่บนรถ
แนวคิดนี้ช่วยลดความซับซ้อนของระบบไฟฟ้าและต้นทุนการผลิต
เน้นต้นทุนต่ำมากกว่าสมรรถนะสูง
แม้ในสิทธิบัตรยังไม่มีการระบุรายละเอียดด้านแบตเตอรี่ ระยะทางวิ่ง หรือกำลังมอเตอร์ที่ชัดเจน แต่เป้าหมายดูเหมือนชัดเจน คือ ทำให้ต้นทุนของมอเตอร์ไฟฟ้า + แบตเตอรี่ 2 ก้อน ถูกกว่าต้นทุนเครื่องยนต์สันดาปพื้นฐานในรถราคาประหยัดทั่วไป
หากทำได้สำเร็จ รถรุ่นนี้อาจมีราคาจำหน่ายใกล้เคียงกับรถ 100–125cc ในตลาดเกิดใหม่ และช่วยให้ผู้บริโภคประหยัดค่าเชื้อเพลิงในระยะยาว

ตลาดเป้าหมาย: อินเดียและแอฟริกา
ตลาดอย่างอินเดียและหลายประเทศในแอฟริกามีความต้องการรถสองล้อราคาถูกจำนวนมาก หาก Honda สามารถผลิตรถไฟฟ้าที่:
- ราคาซื้อไม่สูง
- ดูแลรักษาง่าย
- โครงสร้างไม่ซับซ้อน
- เปลี่ยนแบตเตอรี่ได้สะดวก
ก็มีโอกาสประสบความสำเร็จในระดับแมส ไม่ต่างจากสกู๊ตเตอร์ไฟฟ้าพื้นฐานที่ได้รับความนิยมอย่างสูงในจีน
สรุป: EV ไม่จำเป็นต้องแพงเสมอไป
สิทธิบัตรมอเตอร์ไซค์ไฟฟ้าราคาประหยัดจาก Honda แสดงให้เห็นแนวคิดใหม่ของตลาด EV สองล้อ ที่อาจไม่ได้เน้นความแรงหรือเทคโนโลยีล้ำสมัย แต่เน้น “ความเข้าถึงง่าย” และ “ต้นทุนที่เหมาะสม”
หากเข้าสู่สายการผลิตจริง รถรุ่นนี้อาจเป็นก้าวสำคัญของ Honda ในการขยายตลาดรถไฟฟ้าไปยังผู้ใช้ระดับแมสทั่วโลก และอาจกลายเป็นจุดเปลี่ยนของอุตสาหกรรมมอเตอร์ไซค์ไฟฟ้าในกลุ่มประเทศกำลังพัฒนาอีกด้วย
ติดตามข่าวสารยานยนต์ : car2day.com
Page Facebook : Car2Day
Youtube : youtube.com/@Car2day










