KTM ร่วมมือกับ Bosch ผู้เชี่ยวชาญด้านอิเล็กทรอนิกส์ทั้งหมดในโลกยานยนต์ โดยมีแผนเปิดตัวฟีเจอร์สำหรับรุ่นปีถัดไปในมอเตอร์ไซค์รุ่นใหม่ของแบรนด์

สำหรับการ่วมมือระหว่าง KTM และ Bosch ในครั้งนี้เป็นหนึ่งในแผนใหญ่ในการพัฒนารถจักรยานยนต์ในปี 2025 ของค่ายรถจักรยานยนต์สัญชาติออสเตรีย ซึ่งถูกนำเสนอพร้อมกับฟีเจอร์สำคัญๆ มากมายด้วยเทคโนโลยีอัจฉริยะที่ล้ำสมัยและยอดเยี่ยมที่สุด
Bosch ได้พัฒนาฟังก์ชันช่วยเหลือผู้ขับขี่ใหม่รวม 6 ฟังก์ชันโดย 4 ใน 6 ฟังก์ชันนี้จะเปิดตัว “ในรุ่นใหม่จากผู้ผลิตมอเตอร์ไซค์ชั้นนำของยุโรปอย่าง เคทีเอ็ม ในเดือนพฤศจิกายน 2024 ซึ่งมีกำหนดเริ่มผลิตในปี 2025
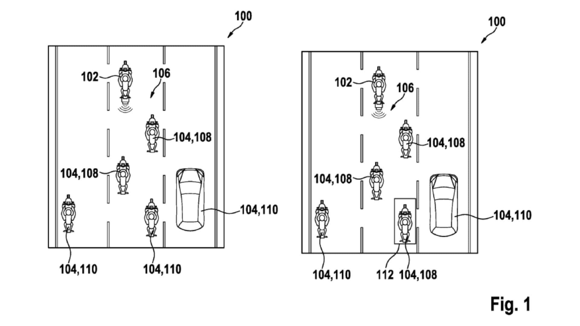
โดยระบบช่วยเหลือผู้ขับขี่ทั้งสี่ระบบนี้จะอาศัยระบบเรดาร์ที่ติดตั้งไว้ด้านหน้า และได้รับการออกแบบมาเพื่อเพิ่มความปลอดภัยและให้การสนับสนุนผู้ขับขี่เพิ่มเติมในการขับขี่บนถนน อย่าง ACC S&G หรือ Adaptive Cruise Control – Stop and Go นับว่าเป็นการก้าวข้ามระบบควบคุมความเร็วอัตโนมัติแบบปรับได้ทั่วไปในแง่ที่ว่ามันทำงานร่วมกับระบบส่งกำลัง และเบรกของรถจักรยานยนต์ ทำให้หยุดสนิทเมื่อจำเป็น แต่ในความเป็นจริงระบบเหล่านี้จำนวนมากติดตั้งมาเป็นมาตรฐานในรถยนต์ส่วนใหญ่แล้ว แต่สำหรับทางฝั่งรถจักรยานยนต์นั้นมีเพียงแค่บางรุ่นเท่านั้น
นอกจากนี้ยังมี Group Ride Assist (GRA) โดยฟีเจอร์นี้จะใช้ระบบเรดาร์ที่ติดตั้งไว้ด้านหน้าของรถจักรยานยนต์เพื่อตรวจจับว่ารถจักรยานยนต์กำลังขี่อยู่ในกลุ่ม จากนั้นระบบจะปรับความเร็วโดยอัตโนมัติเพื่อให้ตรงกับความเร็วของกลุ่มอีกด้วย
ถัดมาระบบที่สาม เรียกว่า RDA หรือ Riding Distance Assist ซึ่งแท้จริงแล้วเป็นความเกี่ยวเนื่องของ ระบบ Adaptive Cruise Control โดยเรดาร์จะตรวจจับว่าการจราจรเคลื่อนตัวได้ราบรื่นหรือไม่ และช่วยให้คุณรักษาระยะห่างที่ปลอดภัยจากรถคันข้างหน้าได้ ซึ่งทางแบรนด์ได้กล่าวว่าระบบนี้ฉลาดกว่าระบบ ACC เพราะคุณไม่จำเป็นต้องตั้งค่าความเร็วล่วงหน้าเพื่อให้ระบบทำงาน ระบบจะเปิดโดยอัตโนมัติ สุดท้าย EBA หรือระบบช่วยเบรกฉุกเฉิน เป็นสิ่งที่อาจมีประโยชน์ ระบบนี้จะทำงานโดยเรดาร์ที่ติดตั้งเพื่อตรวจจับสิ่งกีดขวาง และเบรกโดยอัตโนมัติเพื่อหยุดรถให้เร็วที่สุด

สำหรับสองระบบที่เหลือ ต้องผสานรวมเรดาร์ด้านหลัง ซึ่งดูเหมือนว่า KTM จะไม่มีแผนที่จะนำมาใช้ในรุ่นปี 2025 อย่างไรก็ตาม ทั้งสองระบบนี้ได้รับการพัฒนาโดย Bosch สำหรับการใช้งานบนมอเตอร์ไซค์ ซึ่งระบบแรกคือ RDW หรือ Rear Distance Warning ซึ่งเป็นระบบจะแจ้งเตือนคุณเมื่อมีใครบางคนหรือบางสิ่งบางอย่างกำลังขับเข้ามาใกล้คุณมากเกินไป และ ระบบ RCW หรือ Rear Collision Warning ซึ่งทำงานคล้ายลักษณะเดียวกัน
สุดท้ายนี้ ระบบเทคโนโลยีเรดาร์สุดล้ำทาง KTM จะนำใส่มาให้รุ่นไหนบ้างสำหรับมอเตอร์ไซค์ใหม่ในปี 2025 คงต้องติดตามอัปเดทกันอีกครั้ง แต่เชื่อเลยว่าจะเป็นการพัฒนาเทคโนโลยีอัจฉริยะที่ล้ำสมัยและยอดเยี่ยมที่สุดของแบรนด์
ติดตามข่าวสารยานยนต์ : car2day.com
Page Facebook :Car2Day
Youtube : youtube.com/@Car2day













