Yamaha ยื่นจดสิทธิบัตร เครื่องยนต์จำลอง สำหรับมอเตอร์ไซค์ไฟฟ้าที่จะให้ฟีลลิ่งเหมือนกับเครื่องยนต์สันดาปภายใน
Yamaha ได้ยื่นจดสิทธิบัตรเครื่องยนต์จำลองเพื่อแก้ไขปัญหาที่ระบบขับเคลื่อนที่นิ่ง เงียบ ซึ่งเป็นที่รู้จักกันดีว่าเป็นเอกลักษณ์รถจักรยานยนต์ไฟฟ้า แต่ทาง ยามาฮ่า มีการพัฒนาโซลูชันทางเทคนิคใหม่เพื่อชดเชยข้อเสียเปรียบนี้ด้วยเครื่องยนต์จำลองที่จะมาเสริมฟีลลิ่งในส่วนของเสียงเครื่องยนต์ และแรงสั่นสะเทือนแบบเดิมๆ ใหม่เหมือนกับมอเตอร์ไซค์เครื่องยนต์สันดาปภายใน
สิทธิบัตรนี้เน้นย้ำว่ารถจักรยานยนต์แบบดั้งเดิมที่ใช้เครื่องยนต์สันดาปภายในนั้นมีเสน่ห์ดึงดูดใจผู้ขับขี่เป็นอย่างมาก ยามาฮ่าระบุว่า เสียงและแรงสั่นสะเทือนที่เกิดขึ้นระหว่างการเร่งความเร็วนั้นสร้างประสบการณ์การขับขี่ที่เร้าใจ ซึ่งระบบขับเคลื่อนด้วยไฟฟ้ายังไม่สามารถทำได้

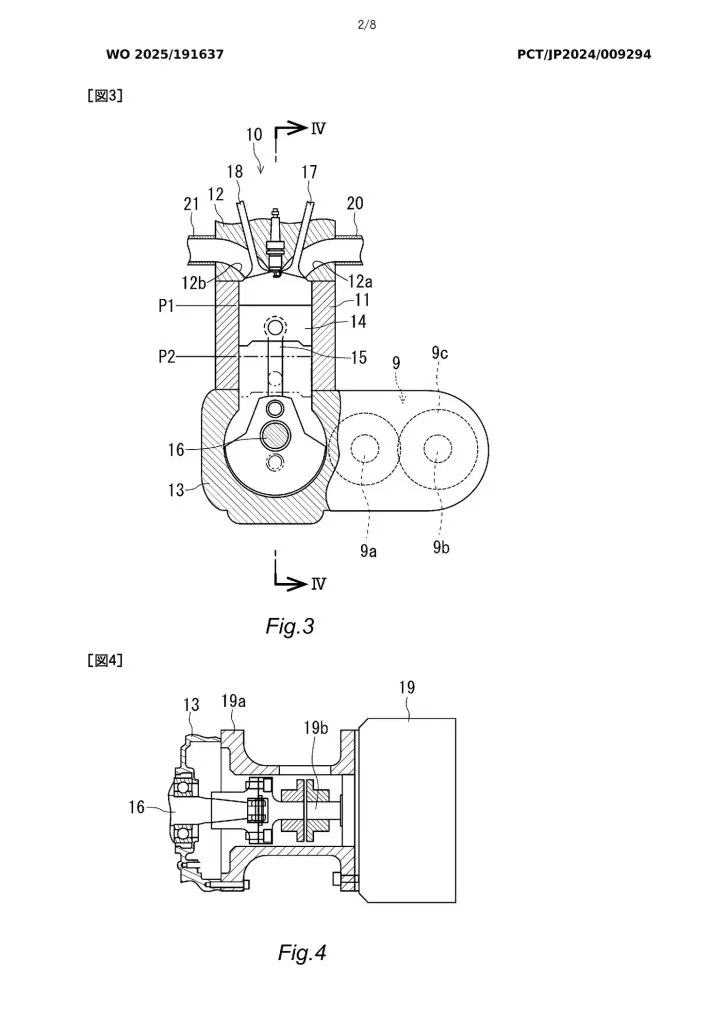
ในสิทธิบัตรที่ยื่นต่อองค์การทรัพย์สินทางปัญญาโลก หมายเลขอ้างอิง WO/2025/191637 ยามาฮ่าได้อธิบายถึงการออกแบบพิเศษ โดยระบุว่า นอกจากมอเตอร์ไฟฟ้าแล้ว รถจักรยานยนต์ไฟฟ้ายังมีระบบที่เลียนแบบการทำงานของเครื่องยนต์สันดาปภายใน เครื่องยนต์จำลองนี้ไม่ได้ใช้เชื้อเพลิง และไม่ทำหน้าที่ขับเคลื่อนใดๆ แต่ใช้เพื่อส่งเสียงและแรงสั่นสะเทือนเท่านั้น
การออกแบบจะเห็นได้ว่ามอเตอร์ไฟฟ้าถูกใช้เพื่อขับเคลื่อนเพลาข้อเหวี่ยง ซึ่งจะทำหน้าที่ขับเคลื่อนเครื่องยนต์สี่จังหวะจำลองให้เคลื่อนที่ ซึ่งทำให้ลูกสูบและส่วนประกอบอื่นๆ เคลื่อนที่อย่างสมจริง อีกทั้งยังมีช่องดูดอากาศเข้าและขับออกอีกครั้ง ก่อให้เกิดเสียงและการสั่นสะเทือนที่มีลักษณะเฉพาะ ตามสิทธิบัตร การบีบอัดและการขยายตัวของอากาศในท่อไอดีและไอเสียจะสร้างคลื่นเสียงที่ถูกขยายโดยเรโซเนเตอร์ เพื่อสร้างเสียงไอดีและไอเสียแบบทั่วไปของเครื่องยนต์สันดาปภายใน
เสียงและแรงสั่นสะเทือนที่เกิดขึ้นได้รับการออกแบบให้เปลี่ยนแปลงไปตามสไตล์การขับขี่ เสมือนเครื่องยนต์สันดาปภายในที่คุ้นเคย รูปลักษณ์ภายนอกของเครื่องยนต์ได้รับการออกแบบให้คล้ายกับเครื่องยนต์มอเตอร์ไซค์คลาสสิก ซึ่งจะเห็นได้ว่าเป้าหมายของ ยามาฮ่า คือการสร้างมอเตอร์ไซค์คลาสสิกไฟฟ้าให้ใกล้เคียงกับเครื่องยนต์สันดาปภายในมากที่สุด ทั้งในด้านรูปลักษณ์ เสียง และสัมผัส โดยไม่ต้องติดตั้งเครื่องยนต์จริง
อย่างไรก็ตามระบบนี้ถูกออกแบบมาเพื่อจำลองประสบการณ์การขับขี่มอเตอร์ไซค์คลาสสิกอย่างแท้จริง และเพิ่มการยอมรับให้กับมอเตอร์ไซค์ไฟฟ้า และสุดท้ายนี้ยังคงต้องรอดูกันต่อไปว่าแนวคิดนี้จะประสบความสำเร็จในตลาดหรือไม่
ติดตามข่าวสารยานยนต์ : car2day.com
Page Facebook : Car2Day
Youtube : youtube.com/@Car2day












