BMW จดสิทธิบัตรหัวน็อตรูปโลโก้ จุดชนวนดราม่าการซ่อมบำรุงยุคใหม่

BMW จดสิทธิบัตรหัวน็อตรูปโลโก้แบบใหม่ ใช้ได้เฉพาะกับเครื่องมือเฉพาะ จุดชนวนประเด็นสิทธิผู้ใช้ ความปลอดภัย และการพึ่งพาศูนย์บริการ

BMW จดสิทธิบัตรหัวน็อตรูปโลโก้ จุดชนวนดราม่าการซ่อมบำรุงยุคใหม่

BMW จดสิทธิบัตรหัวน็อตแบบใหม่ที่มีรูปทรงเหมือนโลโก้ของแบรนด์ ซึ่งไม่สามารถใช้งานกับเครื่องมือทั่วไปได้อีกต่อไป ต้องใช้เครื่องมือเฉพาะที่ออกแบบมาเท่านั้น การเคลื่อนไหวนี้แม้จะช่วยเพิ่มความปลอดภัยและป้องกันการงัดแงะ แต่ก็สร้างความไม่สบายใจให้กับผู้ใช้และช่างอิสระจำนวนมาก

หัวน็อตโลโก้ BMW คืออะไร?

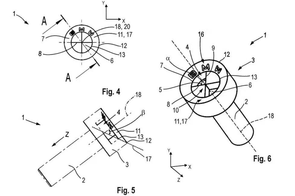
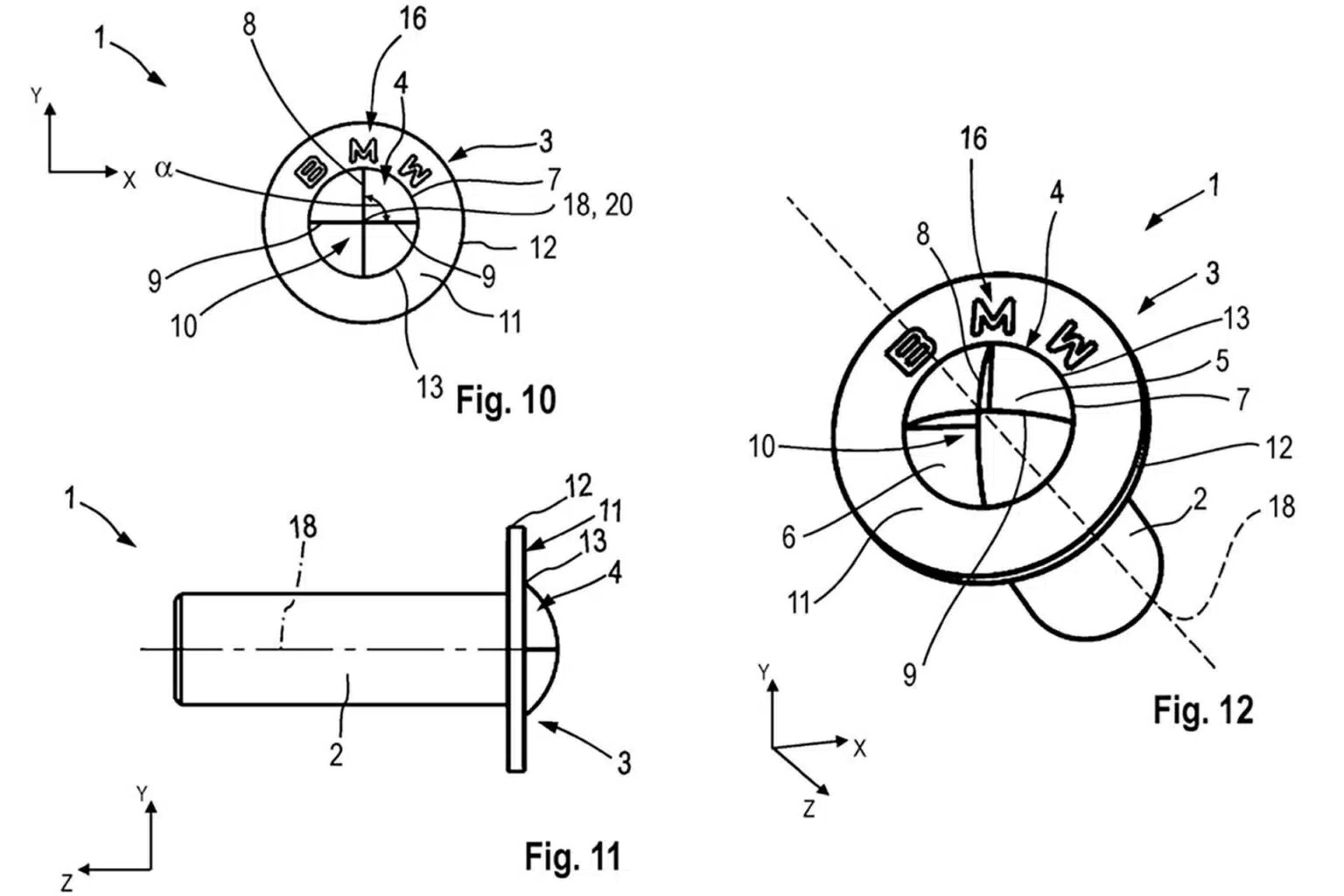
ในช่วงหลายปีที่ผ่านมา BMW มักสลักตัวอักษร “BMW” ลงบนหัวน็อตของรถ เพื่อแสดงถึงความใส่ใจในรายละเอียด แม้แต่ในชิ้นส่วนเล็กที่สุด และยังคงใช้มาตรฐานหัวน็อตทั่วไป เช่น Torx หรือ Allen แต่หัวน็อตแบบใหม่ที่จดสิทธิบัตรนี้ มีรูปทรงคล้ายใบพัดสองแฉกโค้ง (คล้ายชิ้นเค้กสองชิ้น) ซึ่งไม่สามารถหมุนด้วยเครื่องมือทั่วไปได้ จำเป็นต้องใช้เครื่องมือเฉพาะที่มีรูปทรงตรงกันเท่านั้น

BMW จดสิทธิบัตรหัวน็อตโลโก้

เป้าหมายของ BMW จากสิทธิบัตรนี้

ตามเอกสารสิทธิบัตร ระบุวัตถุประสงค์เพื่อ “จำกัดการเข้าถึงการคลายหรือขันสกรูบางตำแหน่ง ให้ทำได้เฉพาะผู้ที่มีเครื่องมือเฉพาะเท่านั้น” นั่นหมายถึง BMW ต้องการควบคุมการเข้าถึงบางจุดของรถ เพื่อป้องกันการงัดแงะ การขโมยอะไหล่ หรือการดัดแปลงที่อาจส่งผลต่อความปลอดภัย

BMW จดสิทธิบัตรหัวน็อตโลโก้

ใช้กับจุดไหนของรถ?

จากการวิเคราะห์ด้านวิศวกรรม หัวน็อตแบบใหม่นี้ไม่เหมาะกับชิ้นส่วนโครงสร้างหรือจุดที่ต้องรับแรงบิดสูง เนื่องจากพื้นที่สัมผัสของเครื่องมือมีจำกัด

จึงมีแนวโน้มว่าจะถูกใช้กับ:

  • แฟริ่ง (แฟริ่งข้างตัวรถ)
  • ฝาครอบ
  • ชิ้นส่วนตกแต่งภายนอก
  • จุดที่ไม่ต้องรับแรงมาก แต่เสี่ยงต่อการถูกงัดหรือขโมย

BMW จดสิทธิบัตรหัวน็อตโลโก้

ประเด็นถกเถียงที่ตามมา

สิ่งที่สร้างเสียงวิจารณ์คือ การที่ผู้ใช้จะต้อง:

  • ซื้อเครื่องมือเฉพาะเพิ่ม
  • พึ่งพาศูนย์บริการมากขึ้น
  • เข้าถึงการซ่อมพื้นฐานได้น้อยลง

สำหรับเจ้าของ BMW หลายคน การดูแลรถด้วยตัวเองถือเป็น “สิทธิของผู้ใช้” และเป็นความสุขรูปแบบหนึ่ง หัวน็อตแบบใหม่นี้จึงถูกมองว่าเป็นการสร้าง “กำแพงทางเทคนิค” ระหว่างผู้ใช้กับรถของตัวเอง

สรุป

แม้จะเป็นเพียง “หัวน็อตตัวเล็ก ๆ” แต่การจดสิทธิบัตรหัวน็อตรูปโลโก้ BMW ได้เปิดประเด็นใหญ่เกี่ยวกับสิทธิในการซ่อม (Right to Repair), ความเป็นเจ้าของที่แท้จริง และเสรีภาพของผู้ใช้ในยุคที่เทคโนโลยียานยนต์ถูกควบคุมมากขึ้นเรื่อย ๆ สุดท้ายแล้ว ทุกอย่างขึ้นอยู่กับว่า BMW จะนำไปใช้จริงแค่ไหน และจะจำกัดการเข้าถึงในระดับใด หากใช้เฉพาะกับจุดลึกหรือซับซ้อน อาจไม่ใช่ปัญหาใหญ่ แต่ถ้าลามไปถึงงานพื้นฐาน อาจกระทบภาพลักษณ์ของแบรนด์ในระยะยาว


ติดตามข่าวสารยานยนต์ : car2day.com
Page Facebook : Car2Day
Youtube : youtube.com/@Car2day

ABOUT THE AUTHOR

Latest Posts