Voge ยื่นสิทธิบัตรสวิงอาร์มแขนเดียวพร้อมท่อลมระบายความร้อนเบรกหลังใน RR500S เพิ่มประสิทธิภาพขี่แรงไม่เฟด ลุ้นขายจริงเร็วๆ นี้

Voge แบรนด์มอเตอร์ไซค์จากจีน เดินเกมแรงอีกครั้ง เตรียมยกระดับสปอร์ตไบค์ขนาดกลางด้วยสวิงอาร์มแขนเดียวที่ไม่ได้มาแค่ความสวย แต่ใส่นวัตกรรม “ท่อลมระบายความร้อนเบรก” ที่อาจเปลี่ยนเกมรถสปอร์ตคลาสกลาง

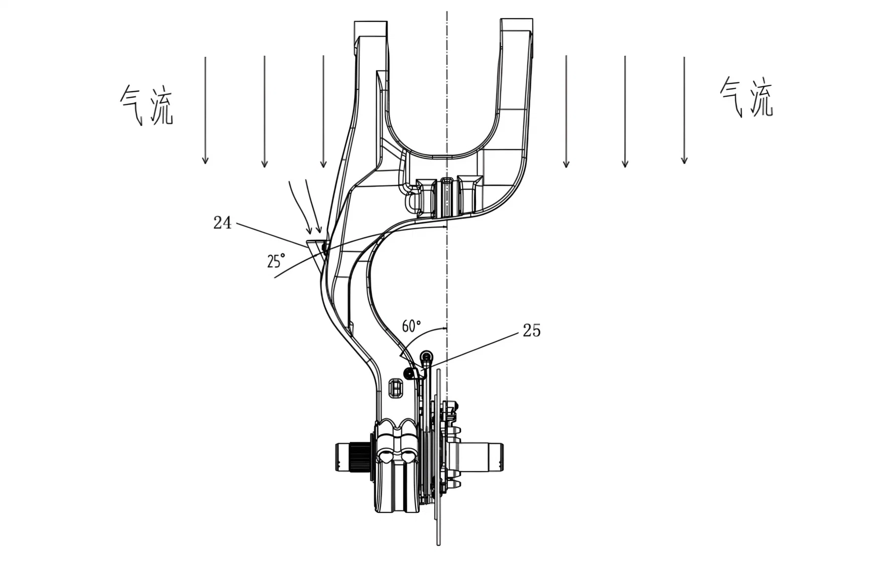
จากแค่สวย สู่แก้ปัญหาจริง
สวิงอาร์มแขนเดียวเป็นเอกลักษณ์ของรถพรีเมียมมานาน ให้ลุคเท่ โชว์ล้อหลังเต็มตา แต่มีข้อเสียสำคัญคือ “เบรกหลังระบายความร้อนได้ไม่ดี” เพราะตำแหน่งถูกบังลม ทำให้สะสมความร้อนง่าย โดยเฉพาะเวลาขี่หนักหรือทางลงเขายาว

ไอเดียใหม่: ใช้ลมจริงช่วยระบาย
สิทธิบัตรล่าสุดของ Voge เผยแนวคิดแก้เกมอย่างชาญฉลาด ด้วยการออกแบบ “ช่องลมในสวิงอาร์ม” ให้ลมวิ่งผ่านด้านในแล้วพุ่งไปยัง
- จานเบรกหลัง
- คาลิเปอร์เบรก
ผลลัพธ์คือช่วยลดความร้อนตรงจุด เพิ่มประสิทธิภาพเบรกโดยไม่ต้องเพิ่มชิ้นส่วนหรือเพิ่มน้ำหนักให้รถ

RR500S ตัวแรงที่มีดีมากกว่าหน้าตา
พื้นฐานของรุ่นนี้ คือ สปอร์ต 4 สูบ 475cc ให้กำลัง 76 แรงม้า รอบจัดถึง 14,000 rpm จัดอยู่ในกลุ่มเดียวกับรถสปอร์ตไซซ์เล็กสายแรงที่กำลังมาแรง การเพิ่มสวิงอาร์มแขนเดียวพร้อมระบบระบายเบรก อาจทำให้รุ่นนี้กลายเป็นตัวท็อปที่ “ทั้งสวยและใช้งานจริงได้ดีกว่า”
สรุปสั้นๆ
data-end=”2164″>Voge ไม่ได้ทำแค่ “รถสวย” แต่เริ่มแก้ปัญหาวิศวกรรมที่แบรนด์ใหญ่ยังมองข้าม ถ้าของจริงทำได้ตามสิทธิบัตร นี่อาจเป็นจุดขายใหม่ที่ทำให้ RR500S แตกต่างแบบจับต้องได้
ติดตามข่าวสารยานยนต์ : car2day.com
Page Facebook : Car2Day
Youtube : youtube.com/@Car2day










