Yamaha จดสิทธิบัตรระบบเกียร์กึ่งอัตโนมัติราคาประหยัด พัฒนาจาก Y-AMT ใช้แอคชูเอเตอร์เดียว เล็งติดตั้งในมอเตอร์ไซค์รุ่นเริ่มต้นปี 2026
Yamaha กำลังพัฒนาเกียร์กึ่งอัตโนมัติ “ราคาประหยัด” สำหรับรถรุ่นเริ่มต้น
Yamaha แบรนด์รถจักรยานยนต์ยักษ์ใหญ่จากญี่ปุ่น กำลังเป็นที่จับตามองอีกครั้ง หลังมีการเปิดเผยเอกสาร จดสิทธิบัตรระบบเกียร์กึ่งอัตโนมัติแบบใหม่ ซึ่งมีแนวโน้มว่าจะเป็นเวอร์ชัน “ต้นทุนต่ำ” พัฒนาต่อยอดจากระบบ Y-AMT (Yamaha Automated Manual Transmission) ที่ใช้งานอยู่ในปัจจุบัน
จากข้อมูลในสิทธิบัตรล่าสุด ระบบใหม่นี้ถูกออกแบบมาเพื่อรองรับ มอเตอร์ไซค์ระดับเริ่มต้นถึงระดับกลาง ช่วยให้เทคโนโลยีเกียร์กึ่งอัตโนมัติไม่ใช่เรื่องไกลตัวอีกต่อไป

รายละเอียดสิทธิบัตรเกียร์กึ่งอัตโนมัติ Yamaha
ปัจจุบัน Yamaha มีระบบ Y-AMT เป็นออปชันในหลายรุ่น และในปี 2026 รุ่นอย่าง MT-07 และ Tracer 7 ก็สามารถเลือกติดตั้งระบบนี้ได้แล้ว อย่างไรก็ตาม ระบบ Y-AMT รุ่นปัจจุบันยังมีต้นทุนค่อนข้างสูง
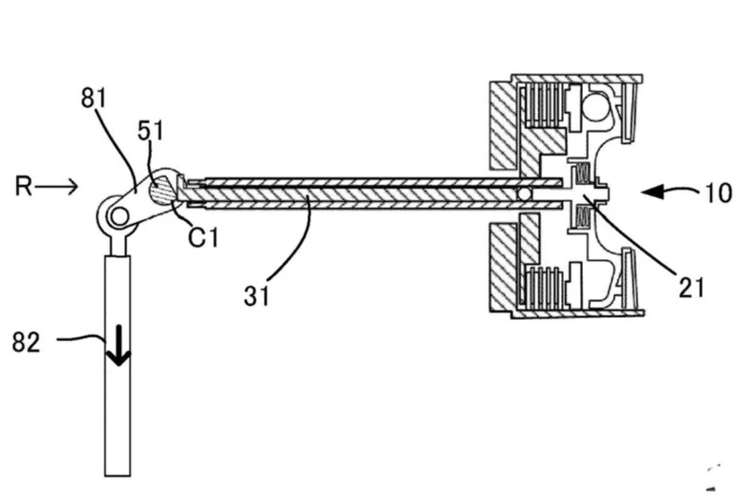
สิทธิบัตรใหม่นี้แสดงให้เห็นถึงแนวคิด ลดความซับซ้อนของระบบ โดยใช้เพียง แอคชูเอเตอร์ (Actuator) เชิงกลเพียงตัวเดียว แทนที่ระบบเดิมซึ่งใช้มอเตอร์ไฟฟ้าสองตัวในการควบคุมคลัตช์และคันเกียร์แยกจากกัน

ใช้ปุ่มเดียว เปลี่ยนเกียร์ได้ทันที
ระบบใหม่จะยังคงใช้ คลัตช์แบบเดิมของรถ แต่จะตัดคันเกียร์ออกไป และให้แอคชูเอเตอร์ทำหน้าที่แทนทั้งหมด ผู้ขี่สามารถ เปลี่ยนเกียร์ผ่านปุ่มบนแฮนด์ ได้โดยตรง หรืออาจตั้งค่าให้ทำงานแบบอัตโนมัติเต็มรูปแบบ ขึ้นอยู่กับซอฟต์แวร์ ECU แนวคิดนี้ช่วยลดต้นทุนการผลิตอย่างมาก และยังช่วยให้ผู้ขี่มือใหม่ใช้งานได้ง่ายขึ้น

แก้ปัญหาออกตัว–หยุดรถ ด้วยคลัตช์แรงเหวี่ยง
หนึ่งในประเด็นสำคัญของระบบเกียร์กึ่งอัตโนมัติคือการ หยุดรถและออกตัว โดยไม่ให้เครื่องยนต์ดับ ซึ่ง Yamaha อาจแก้ปัญหานี้ด้วยการใช้ คลัตช์แรงเหวี่ยง (Centrifugal Clutch) แบบเดียวกับที่ใช้ในรถสกู๊ตเตอร์
ระบบดังกล่าวจะตัดการส่งกำลังเมื่อรอบเครื่องต่ำ และเชื่อมต่อใหม่เมื่อบิดคันเร่ง ทำให้สามารถหยุดและออกตัวได้อย่างราบรื่นโดยไม่ต้องกำคลัตช์
โอกาสใช้งานจริงในอนาคต
หากระบบนี้เข้าสู่การผลิตจริง เราอาจได้เห็น เกียร์กึ่งอัตโนมัติราคาประหยัดของ Yamaha ถูกติดตั้งในรถหลายรุ่น ตั้งแต่คลาสเริ่มต้นไปจนถึงระดับกลาง ซึ่งจะเป็นจุดขายสำคัญทั้งในด้านความสะดวกสบายและราคา
อย่างไรก็ตาม ในตอนนี้ Yamaha ยัง ไม่ได้ประกาศอย่างเป็นทางการ ว่าจะนำเทคโนโลยีดังกล่าวมาใช้จริงเมื่อใด คงต้องติดตามความเคลื่อนไหวกันต่อไปในอนาคตอันใกล้
บทความที่เกี่ยวข้อง
Yamaha Y-AMT ระบบเกียร์ใหม่ คู่ไฟท์ไฝว้ ระบบ E-Clucth ของฮอนด้า
ติดตามข่าวสารยานยนต์ : car2day.com
Page Facebook : Car2Day
Youtube : youtube.com/@Car2day











